Kohlensatz  für anlasser LUCAS M100 / 25629A / 25629E / 25634A / 25634E
Kohlensatz  für anlasser LUCAS M100 / 25629A / 25629E / 25634A / 25634E
Zurück
Weiter
Kohlensatz  für anlasser LUCAS M100 / 25629A / 25629E / 25634A / 25634E
Kohlensatz  für anlasser LUCAS M100 / 25629A / 25629E / 25634A / 25634E

Kohlensatz für anlasser LUCAS M100 / 25629A / 25629E / 25634A / 25634E

lasx43-442

Kohlensatz für anlasser LUCAS M100 / 25629A / 25629E / 25634A / 25634E / 25638A / 25638E / 25642A / 25642F / 25643A / 25643J / 25644A / 25644K / 25647A / 25647L / 25692

= Referenz TAB124 / 54246258 / lasx43-442 / 54246255 / RTC5967 / RTC4792 / RTC4367

8,90 € Bruttopreis
Der Preis kann je nach Ihrem Mehrwertsteuersatz variieren
Nur noch wenige Teile verfügbar Schnelle Lieferung
2 Jahre Garantie
Ohne Pfand oder Rückkehr des Alten
sichere Zahlung

Eigenschaften

Elektrische Informationen
Volt 12
Physische Informationen
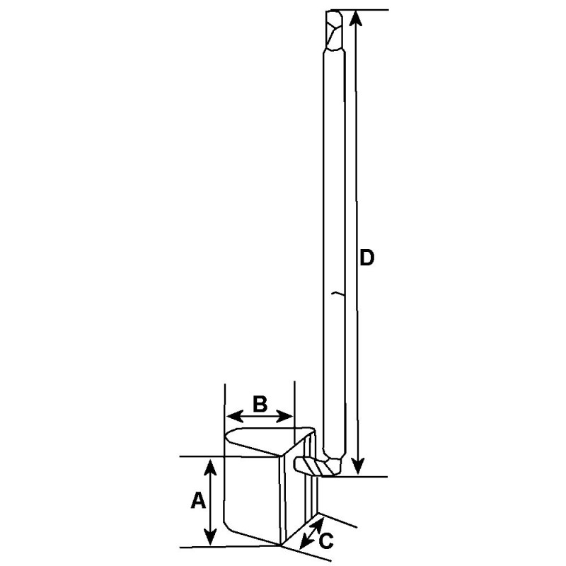
A Länge mm 17.50
B Dicke mm 4.70/10.30
C Höhe mm 13.30
D Leiterlänge 2 mm 53.50
D Leiterlänge mm 109.00

für anlasser LUCAS :

LUCAS 25629
LUCAS 25629A/E
LUCAS 25634
LUCAS 25634A/E
LUCAS 25638
LUCAS 25638A/E
LUCAS 25642
LUCAS 25642A/F
LUCAS 25642D
LUCAS 25643
LUCAS 25643A/J
LUCAS 25644
LUCAS 25644A/K
LUCAS 25647
LUCAS 25647A/L
LUCAS 25648
LUCAS 25648A/K
LUCAS 25649
LUCAS 25649A/L
LUCAS 25650
LUCAS 25650A/E
LUCAS 25651
LUCAS 25651A/B
LUCAS 25652
LUCAS 25652A/E
LUCAS 25653
LUCAS 25653A/E
LUCAS 25654
LUCAS 25654A/H
LUCAS 25657
LUCAS 25657A/E
LUCAS 25662
LUCAS 25662A/E
LUCAS 25666
LUCAS 25666A/D
LUCAS 25667
LUCAS 25667A/D
LUCAS 25674
LUCAS 25674A/E
LUCAS 25675
LUCAS 25675A/D
LUCAS 25684
LUCAS 25684A/H
LUCAS 25684A/J
LUCAS 25685
LUCAS 25685A/E
LUCAS 25686
LUCAS 25686A/H
LUCAS 25687A/L
LUCAS 25688
LUCAS 25688A/E
LUCAS 25689
LUCAS 25689A/J
LUCAS 25689F
LUCAS 25690
LUCAS 25690A/D
LUCAS 25691
LUCAS 25691A/K
LUCAS 25692
LUCAS 25692A/J
LUCAS 25692J
LUCAS 25693
LUCAS 25693A/F
LUCAS 25695
LUCAS 25695A/F
LUCAS 25696
LUCAS 25696A/L
LUCAS 25698
LUCAS 25698A/K
LUCAS 25699
LUCAS 25699A/J
LUCAS 25701
LUCAS 25701A
LUCAS 25701A/D
LUCAS 25703
LUCAS 25703A/E
LUCAS 25704
LUCAS 25704A/D
LUCAS 25705
LUCAS 25705A/D
LUCAS 25706
LUCAS 25706A/D
LUCAS 25707
LUCAS 25707A/D
LUCAS 25709
LUCAS 25709A/D
LUCAS 25710
LUCAS 25710A/D
LUCAS 25711
LUCAS 25711A/D
LUCAS 25712
LUCAS 25712A/H
LUCAS 25714
LUCAS 25714A/D
LUCAS 25716
LUCAS 25716A/H
LUCAS 25717
LUCAS 25717A/D
LUCAS 25718
LUCAS 25718A/D
LUCAS 25720
LUCAS 25720A/D
LUCAS 25721
LUCAS 25721A/D
LUCAS 25722
LUCAS 25722A/D
LUCAS 25728
LUCAS 25728A/D
LUCAS 25729
LUCAS 25729A/D
LUCAS 25730
LUCAS 25730A/D
LUCAS 25731
LUCAS 25731A/D
LUCAS 25732
LUCAS 25732A/E
LUCAS 25733
LUCAS 25733A/E
LUCAS 25734
LUCAS 25734A/D
LUCAS 25735
LUCAS 25735A/E
LUCAS 25739
LUCAS 25739A/D
LUCAS 25742A
LUCAS 25743
LUCAS 25743A/D
LUCAS 25749
LUCAS 25749A
LUCAS 25750
LUCAS 25750A
LUCAS 25751
LUCAS 25754
LUCAS 25754A
LUCAS 25755
LUCAS 25755A
LUCAS 25756
LUCAS 25756A
LUCAS 27466
LUCAS 27466A

Kunden-Bewertungen

Kohlensatz für anlasser LUCAS M100 / 25629A / 25629E / 25634A / 25634E
Bewertungen zu diesem Produkt
Logo Société des Avis Garantis Vertrauenszeugnis

Bewertungen unterliegen der Kontrolle

0
1★
0
2★
0
3★
0
4★
1
5★
10/10


auf 1 Bewertung

  • 5

    Passt zu meinem Anlasser, keine Fehler. (Übersetzte Rezension)



Wagendass setzt sich für die Nachhaltigkeit Ihres Fahrzeugs ein

Wagendass setzt sich für die Nachhaltigkeit Ihres Fahrzeugs ein

Neue und pfandfreie Teile, 2 Jahre Garantie

Ersatzteilgarantien mit Wagendass

  • Neue Teile
  • Ohne Pfand
  • 2 Jahre Garantie für alle Fahrzeugtypen.

Wie finden Sie Ihr Ersatzteil auf der Wagendass-Website?

Die Artikelnummer Ihres defekten Teils ist entscheidend für die Bestimmung des richtigen Ersatzteils. Jede Marke hat nämlich ihre eigene Nomenklatur, um ihre Ersatzteile zu authentifizieren.

Die Referenz kann numerisch oder alphanumerisch sein und muss sich auf Ihrem Ersatzteil befinden.

Wenn Sie die Artikelnummer gefunden haben, geben Sie sie in die Suchleiste ein, die sich ganz oben in der Mitte unserer Website befindet.

Das vorgeschlagene Ergebnis ist das Ersatzteil, das zu Ihrer Referenz passt.

Ersatzteilgarantien mit Wagendass
Neue Münzen

Originale und anpassbare

Ohne Pfand

Noch Rückkehr des Alten

Sichere Zahlungen

Amex,CB,Visa,MasterCard in 3D Secure und PayPal

Schnelle Lieferung

Frankreich und International

Laden..