Agamento in 4 rate gratuito per acquisti da 30 a 2.000 euro
Rif
Parole chiave
Cerca...
-
Prodotti
-
-
-
Motorino di Avviamento
- Motorino di avviamento per auto
- Motorino di avviamento per barca / marina
- Motorino di avviamento per camion / autocarri a cassone ribaltabile
- Motorino di avviamento per Macchine agricole / lavori pubblici
- Motorino di avviamento per Moto / Quad / Motoslitta / Scooter / Jetski
- Motorino di Avviamento per Quad / Motoslitta / Jetski
-
-
-
-
-
Carburazione
- Carburatore
- Kit di guarnizioni e parti per il carburatore VARIE
- Membrana del carburatore DELLORTO
- Membrana del carburatore PIERBURG, SOLEX, ZENITH
- Membrana del carburatore WEBER
- Set di guarnizioni e parti del carburatore WEBER
- Set di guarnizioni e parti per il carburatore ZENITH / PIERBURG
- Set guarnizioni e parti del carburatore SOLEX
-
-
-
-
Tipi di veicoli
-
- Marca
- Alternatore
- Motorino di Avviamento
- A/C Attrezzature
Set di spazzole per motorino di avviamento Hitachi S114-516 / S114-516A / S114-528 / S114-528A
W140934
Set di spazzole / charbon per motorino di avviamento :
| S114-516 | HITACHI | 2330012G05 | NISSAN |
| S114-516A | HITACHI | 2330088G01 | NISSAN |
| S114-528 | HITACHI | ||
| S114-528A | HITACHI |
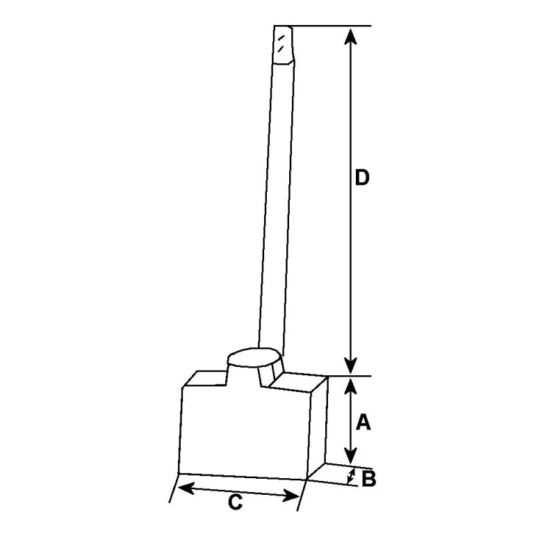
Specifiche tecniche
Informazioni elettriche | ||
|---|---|---|
| Voltaggio | 12 | |
Informazioni fisiche | ||
|---|---|---|
| A | lunghezza mm | 16.00 |
| B | Spessore mm | 6.8 |
| C | Larghezza mm | 10.90 |
| D | Lunghezza cavo mm | 148 |
| D | Lunghezza cavo 2 mm | 35.2 |
= Hitachi 2114-83122/83121 / 2114-83121/83122
Precedente
keyboard_arrow_left
Successivo
keyboard_arrow_right
I clienti che hanno acquistato questo prodotto hanno comprato anche:
Precedente
Successivo
Relè / Solenoidi per motorino di avviamento Nissan / Hitachi
29,90 €
16 altri prodotti della stessa categoria:
Precedente
Successivo
Spazzole per motorini di avviamento HITACHI
Set di spazzole per motorino di avviamento Hitachi S12-19 / S12-19K / S12-23 / S12-24A
7,90 €
Spazzole per motorini di avviamento HITACHI
Set di spazzole per motorino di avviamento Hitachi S12-48 / S12-52 / S12-58 / S12-61
11,90 €
Spazzole per motorini di avviamento HITACHI
Set di spazzole per motorino di avviamento Hitachi S114-435F / S114-435G / S114-568
5,90 €
Spazzole per motorini di avviamento HITACHI
Set di spazzole per motorino di avviamento Hitachi S114-456 / S114-556 / S114-556A / S114-557 /S114-557A / S114-558
7,90 €
(2 ratings)
Spazzole per motorini di avviamento HITACHI
Set di spazzole per motorino di avviamento Hitachi S12-19C / S12-41A / S12-59
6,90 €
(6 ratings)
Spazzole per motorini di avviamento HITACHI
Set di spazzole JHTSX-36 per motorino di avviamento Hitachi S12-38A / S13-33 / S13-33A
6,90 €
Spazzole per motorini di avviamento HITACHI
Set di spazzole JHTSX-29 per motorino di avviamento Hitachi S13-15 / S13-61 / S24-64B
9,59 €
Spazzole per motorini di avviamento HITACHI
Set di spazzole per motorino di avviamento Hitachi s108-116 / S108-34B / S108-61
5,90 €
(6 ratings)
Spazzole per motorini di avviamento HITACHI
Set di spazzole per motorino di avviamento Hitachi S13-100 / S13-102 / S13-104
6,90 €
(4 ratings)
Spazzole per motorini di avviamento HITACHI
Set di spazzole per motorino di avviamento Hitachi S114-750 / S114-751 / S114-752
10,90 €
Spazzole per motorini di avviamento HITACHI
Set di spazzole per motorino di avviamento Hitachi S108-77 / S108-78 / S114-103
5,90 €
(9 ratings)
Spazzole per motorini di avviamento HITACHI
Set di spazzole per motorino di avviamento Hitachi S13-129 / S13-136 / S13-160 / S13-329
7,90 €
(2 ratings)
Spazzole per motorini di avviamento
Molla per le spazzole per motorino di avviamento Hitachi S114-348 / S114-348A / S13-100
3,90 €
(2 ratings)
Spazzole per motorini di avviamento HITACHI
Set di spazzole per motorino di avviamento Hitachi S13-06 / S13-06A / S13-10 / S13-14 / S13-18
8,90 €
Spazzole per motorini di avviamento HITACHI
Set di spazzole/charbon JHTSX-43 per motorino di avviamento Hitachi S13-49A
10,99 €
Spazzole per motorini di avviamento HITACHI
Set di spazzole per motorino di avviamento Hitachi S114-800 / S114-800A / S114-800B
8,90 €
Avete domande?
Wagendass si impegna a garantire la durata del vostro veicolo.
Pezzi nuovi, nessun deposito, 2 anni di garanzia
Garanzie sui ricambi con Wagendass
- Pezzi nuovi
- Nessun deposito
- Garanzia di 2 anni per tutti i tipi di veicoli
Come posso trovare il mio pezzo di ricambio sul sito web di Wagendass?
Il riferimento del vostro pezzo difettoso è essenziale per determinare il giusto pezzo di ricambio. Ogni marchio ha una propria nomenclatura per l'autenticazione dei pezzi di ricambio.
Il numero di parte può essere numerico o alfanumerico e si trova sul pezzo.
Una volta trovato il numero di parte, inserirlo nella barra di ricerca nella parte superiore del nostro sito, al centro.
Il risultato sarà il pezzo di ricambio corrispondente al vostro numero di parte.
Parti nuove
Originali e adattabili
Nessuna istruzione
Nessun ritorno del vecchio
Pagamenti sicuri
Amex, CB, Visa, MasterCard in 3D Secure e PayPal
Consegna veloce
Francia e internazionale