-
Prodotti
-
-
-
Motorino di Avviamento
- Motorino di avviamento per auto
- Motorino di avviamento per barca / marina
- Motorino di avviamento per camion / autocarri a cassone ribaltabile
- Motorino di avviamento per Macchine agricole / lavori pubblici
- Motorino di avviamento per Moto / Quad / Motoslitta / Scooter / Jetski
- Motorino di Avviamento per Quad / Motoslitta / Jetski
-
-
-
-
-
Carburazione
- Carburatore
- Kit di guarnizioni e parti per il carburatore VARIE
- Membrana del carburatore DELLORTO
- Membrana del carburatore PIERBURG, SOLEX, ZENITH
- Membrana del carburatore WEBER
- Set di guarnizioni e parti del carburatore WEBER
- Set di guarnizioni e parti per il carburatore ZENITH / PIERBURG
- Set guarnizioni e parti del carburatore SOLEX
-
-
-
-
Tipi di veicoli
-
- Marca
- Alternatore
- Motorino di Avviamento
- A/C Attrezzature
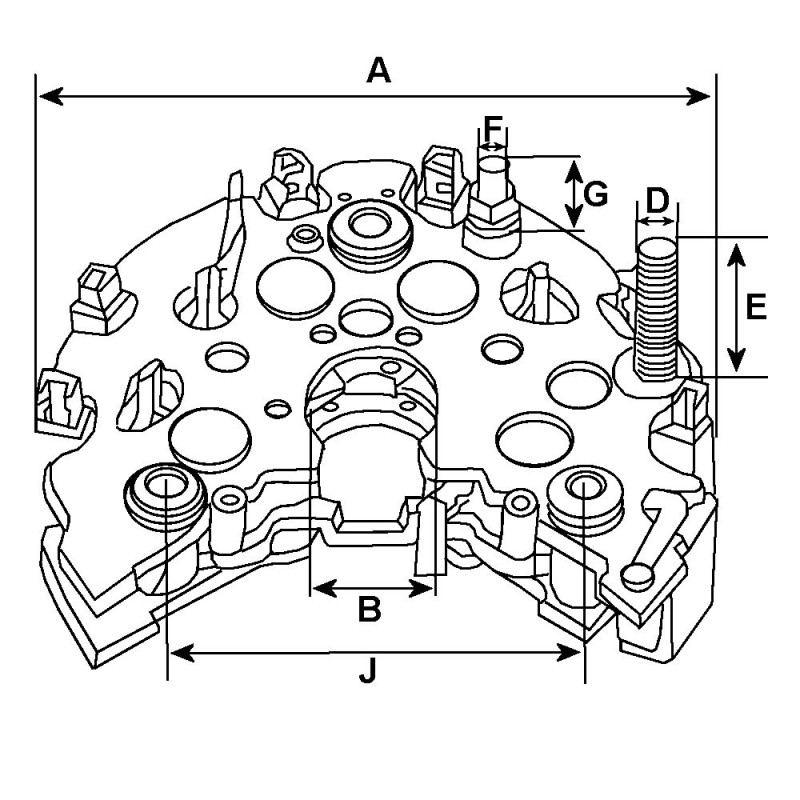
Piastra diodi per alternatore Delco remy 3472020 / 3472021 / 3472063
Piastra diodi per alternatore Delco remy / Opel :
Delco 10480225; GM 93175796, 93175943
Opel 62-04-073, 62-04-098, 62-04-138, 91-17-851, 95-12-784
Specifiche tecniche
= riferimento
3472020 / 3472021 / 3472063 / 3472064 / 3493226 / 3493273
Delcoremy 3478687 / 3472820
Opel 6205432
DER2010
marchio generico
Caratteristiche :
Senza le trio de Diodo
J = Dist. fissaggio 75.00
Diodo A 60
B+ Tipo Vis
A = DE mm 95.00
B+/filettato M8/36.00
Tipo Diodo Avalanche
Condensateur Senza
Numero di diodi 6
16 altri prodotti della stessa categoria:
Piastra diodi per alternatore Delco remy 10430484 / 10456300 / 10456301 / 10456302
Diodo per alternatore Delco 1100056 / 1100057 / 1100059 / 1100061
Piastra diodi per alternatore Delco 1048022 / GM 93175796 / 93175943 / Opel 62-04-073 / 62-04-098 /
Piastra diodi per alternatore Delco remy 10463625 /10463634 / 10463636 / 10463637
Piastra diodi per alternatore Delco remy 1105039 / 1105040 / 1105062 / 1105186
Diodo negativo per alternatore Delco 10459003 / 10459005 / 10459006
Piastra diodi per alternatore Delco remy 10459082 / 1117884 / 1117889
Piastra diodi per alternatore Delco remy 10480187 / 10480189 / 10480190
Triodo per alternatore Delco remy 3471214 / 3472002 / 3472014 / 3472018
Piastra diodi per alternatore Delco remy 10479809 / 10479839 / 10479843
Piastra diodi per alternatore Delco remy 1117880 / 1117885 / 1117886 / 1117887 / 1117890
Piastra diodi per alternatore Delco remy 10SI / 20SI / 30SI / 32SI / 40SI
Triodo per alternatore Delco remy 10459002 / 10459004 / 10459008
Triodo per alternatore Delco remy 1100072 / 1100073 / 1100075 / 1100076 / 1100077
Triodo per alternatore Delco remy 10SI / 12SI / 15SI / 17SI / 20SI / 10479823
Avete domande?
Wagendass si impegna a garantire la durata del vostro veicolo.
Pezzi nuovi, nessun deposito, 2 anni di garanzia
Garanzie sui ricambi con Wagendass
- Pezzi nuovi
- Nessun deposito
- Garanzia di 2 anni per tutti i tipi di veicoli
Come posso trovare il mio pezzo di ricambio sul sito web di Wagendass?
Il riferimento del vostro pezzo difettoso è essenziale per determinare il giusto pezzo di ricambio. Ogni marchio ha una propria nomenclatura per l'autenticazione dei pezzi di ricambio.
Il numero di parte può essere numerico o alfanumerico e si trova sul pezzo.
Una volta trovato il numero di parte, inserirlo nella barra di ricerca nella parte superiore del nostro sito, al centro.
Il risultato sarà il pezzo di ricambio corrispondente al vostro numero di parte.
Originali e adattabili
Nessun ritorno del vecchio
Amex, CB, Visa, MasterCard in 3D Secure e PayPal
Francia e internazionale