Motorino di avviamento sostituisce Denso 428000-7042 / 428000-7041 / 428000-7040
Motorino di avviamento sostituisce Denso 428000-7042 / 428000-7041 / 428000-7040
Motorino di avviamento sostituisce Denso 428000-7042 / 428000-7041 / 428000-7040
Motorino di avviamento sostituisce Denso 428000-7042 / 428000-7041 / 428000-7040
Motorino di avviamento sostituisce Denso 428000-7042 / 428000-7041 / 428000-7040
Precedente
Successivo
Motorino di avviamento sostituisce Denso 428000-7042 / 428000-7041 / 428000-7040
Motorino di avviamento sostituisce Denso 428000-7042 / 428000-7041 / 428000-7040
Motorino di avviamento sostituisce Denso 428000-7042 / 428000-7041 / 428000-7040
Motorino di avviamento sostituisce Denso 428000-7042 / 428000-7041 / 428000-7040
Motorino di avviamento sostituisce Denso 428000-7042 / 428000-7041 / 428000-7040

Motorino di avviamento sostituisce Denso 428000-7042 / 428000-7041 / 428000-7040

w115645

Motorino di avviamento nove per Audi / Chevrolet / Seat / VW

= Delco remy DRS0801

= Denso 428000-7042 / 428000-7041 / 428000-7040 / 428000-7043

428000-8860 / DSN964

= Lucas LRS02543

= Vag 0AH911023F / AH911023F / AH911023FX / 0AH911023G

= 30430N / 300907132

= 0001179531 / 0001179530 / 0001145004

NESSUNA ISTRUZIONE O RITORNO DEL VECCHIO

149,90 € Tasse incluse
Il prezzo può variare in base alla vostra aliquota IVA
Ultimi articoli in magazzino Consegna rapida
Garanzia di 2 anni
Nessuna istruzione, nessun ritorno del vecchio
pagamento sicuro

Specifiche tecniche

Caratteristiche :

Rotazione Senso antiorario

KW 2.0

Voltaggio 12

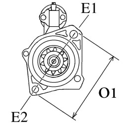
A = Flangia di fissaggio 79.00

B = Distanza pignone 56.50

F = Distanza/posteriore 160.00

G = Distanza/anteriore 62.70

H = N° denti 13

I = B+ M8

N = Tipo ghiera Gr

O = Distanza mm 111.60

P = N° fori di fissaggio 2 (0)

Tipo demarreur Start/Stop

R = Lunghezza totale mm 224.00

marchio generico

montaggio su :

Modello Tipo Carburant Date du à la date Tipo motore Tipo du motore KW Potenzaen chevaux Chassi Tipo Cylindré du motore en cm3 Cylindres Descrip tion du Tipo de
Beetle 1.2 Essence 2012 12 - CBZB TSI 77 105 Décapotable 1197 4
Beetle 1.2 Essence 2011 07 - CBZB TSi 77 105 Hayon 1197 4 5C1
Caddy 1.2 Essence 2010 09 - CBZB CDTi 16V 77 105 Boîte/camionnette 1197 4 2KA, 2KH, 2CA, 2CH
Caddy 1.2 Essence 2010 09 - CBZB CDTi 16V 77 105 Break 1197 4 2KB, 2KJ
Caddy 1.2 Essence 2010 09 - CBZA CDTi 16V 63 86 Break 1197 4 2KB, 2KJ
Caddy 1.2 Essence 2010 09 - CBZA CDTi 16V 63 86 Boîte/camionnette 1197 4 2KA, 2KH, 2CA, 2CH
Golf 1.2 Essence 2010 05 - CBZA TSi 63 86 Hayon 1197 4 5M1, 521
Golf 1.2 Essence 2011 06 - CBZB TSi 77 105 Décapotable 1197 4 517
Golf 1.2 Essence 2009 08 2013 07 CBZB TSi 77 105 Break 1197 4 AJ5
Golf 1.2 Essence 2009 05 2012 11 CBZB TSi 77 105 Hayon 1197 4 5K1
Golf 1.2 Essence 2009 08 - CBZB TSi 77 105 Hayon 1197 4 5M1, 521
Golf 1.2 Essence 2010 05 2012 11 CBZA TSi 63 86 Hayon 1197 4 5K1
Jetta 1.2 Essence 2014 08 - CYVD Tsi 16V 77 105 1197 4 162, 163
Jetta 1.2 Essence 2011 02 - CBZB TSi 77 105 1197 4 162
Touran 1.2 Essence 2010 05 - CBZB TSi 77 105 MPV 1197 4 1T1, 1T2, 1T3
Aveo 1.2 Essence 2011 03 - A12XEL 51 69 1229 4 T300
Aveo 1.2 Essence 2011 03 - A12XER 63 86 1229 4 KL1T, T300
Aveo 1.4 Essence 2011 07 - A14XER 74 100 1398 4 T300
Aveo 1.4 Essence 2011 03 - A14XER 74 101 Hayon 1398 4
Cruze 1.4 Essence 2012 06 - LUJ 103 140 Hayon 1362 4 J305
Cruze 1.4 Essence 2013 07 - A14XER 74 101 1398 4 J300
Cruze 1.4 Essence 2013 07 - A14XER 74 101 Break 1398 4 J308
Cruze 1.4 Essence 2013 07 - LDD 74 101 Break 1398 4 J308
Cruze 1.4 Essence 2013 07 - LDD 74 101 1398 4 J300
Cruze 1.4 Essence 2013 07 - A14XER 74 101 Hayon 1398 4 J305
Cruze 1.4 Essence 2013 10 - A14NET 103 140 1398 4 J300
Orlando 1.4 Essence 2012 06 - LUJ 103 140 MPV 1362 4 J309
Altea 1.2 Essence 2010 04 - CBZB TSi 77 105 MPV 1197 4 5P1
Altea 1.2 Essence 2010 04 - CBZB TSi 77 105 MPV 1197 4 5P5
Leon 1.2 Essence 2013 01 - CJZB TSI 63 86 1197 4 5F1
Leon 1.2 Essence 2013 01 - CYVA TSI 63 86 1197 4 5F1
Leon 1.2 Essence 2013 01 - CYVA TSI 63 86 Break 1197 4 5F8
Leon 1.2 Essence 2010 02 - CBZB TSi 77 105 Hayon 1197 4 1P1
Leon 1.2 Essence 2014 05 - CYVB TSI 81 110 Break 1197 4 5F8
Leon 1.2 Essence 2014 04 - CYVB TSI 81 110 1197 4 5F1
Leon 1.2 Essence 2013 01 - CJZB TSI 63 86 Break 1197 4 5F8
A3 1.2 Essence 2010 04 2012 08 CBZB TSi 77 105 Hayon 1197 4 8P1
A3 1.2 Essence 2010 04 2013 03 CBZB TSi 77 105 Hayon 1197 4 8PA
A3 1.2 Essence 2010 03 2013 05 CBZB TSi 77 105 Décapotable 1197 4 8P7

                  PAS DE CONSIGNE N I DE RETOUR DE L'ANCIEN

                                GARANTIE 1 AN

Wagendass si impegna a garantire la durata del vostro veicolo.

Wagendass si impegna a garantire la durata del vostro veicolo.

Pezzi nuovi, nessun deposito, 2 anni di garanzia

Garanzie sui ricambi con Wagendass

  • Pezzi nuovi
  • Nessun deposito
  • Garanzia di 2 anni per tutti i tipi di veicoli

Come posso trovare il mio pezzo di ricambio sul sito web di Wagendass?

Il riferimento del vostro pezzo difettoso è essenziale per determinare il giusto pezzo di ricambio. Ogni marchio ha una propria nomenclatura per l'autenticazione dei pezzi di ricambio.

Il numero di parte può essere numerico o alfanumerico e si trova sul pezzo.

Una volta trovato il numero di parte, inserirlo nella barra di ricerca nella parte superiore del nostro sito, al centro.

Il risultato sarà il pezzo di ricambio corrispondente al vostro numero di parte.

Garanzie sui ricambi con Wagendass
Parti nuove

Originali e adattabili

Nessuna istruzione

Nessun ritorno del vecchio

Pagamenti sicuri

Amex, CB, Visa, MasterCard in 3D Secure e PayPal

Consegna veloce

Francia e internazionale

Caricamento...