-
Productos
-
-
-
Motores de arranque
- Motores de arranque de barco/marina
- Motores de arranque de coche
- Motores de arranque para camiones / volquetes / vehículos pesados
- Motores de arranque para motocicleta/scooter
- Motores de arranque para quads, motos de nieve y motos acuáticas
- Motores de arranque para tractores / maquinaria agrícola / equipos de construcción
-
-
-
-
-
Carburación
- Carburador
- Kit de juntas y piezas para carburador SOLEX
- Kit de juntas y piezas para carburador WEBER
- Kit de juntas y piezas para carburadores ZENITH / PIERBURG
- Kit de juntas y piezas para varios carburadores
- Membrana del carburador DELLORTO
- Membrana del carburador PIERBURG / SOLEX / ZENITH
- Membrana del carburador WEBER
-
-
-
-
Tipos de vehículos
-
- Marcas
- Alternadores
- Motores de arranque
- Climatizacion
Juego de escobillas / charbon para motor de arranque Mitsubishi M2T10171 / M2T20181A / M2T20281
Juego de escobillas / charbon para motor de arranque Mitsubishi
Caractéristique :
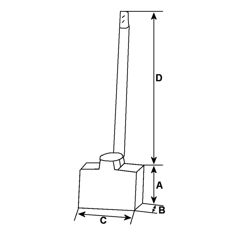
Voltaje 12
C= Longitud mm 17.50
B = Espesor mm 6.46
A = Ancho mm 11.73
D = Longitud del cable mm 38.00
= referencia M648C12370 / M648C12170 / jmtsx36n / 23380-e3010 / 23380-u0110
Características
Especificaciones físicas | ||
|---|---|---|
| C | Longitud mm | 17.50 |
| B | Espesor mm | 6.46 |
| A | Altura mm | 11.73 |
| D | Longitud del cable mm | 38.00 |
para motor de arranque Mitsubishi :
M002T10171 / M002T20181A / M002T20281 / M002T23685 / M003T10475
M003T10476 / M003T10672 / M003T11174 / M003T11272 / M003T12572
m4t14674
JEU DE 3 BALAIS
Los clientes que adquirieron este producto también compraron:
portaescobillas para motor de arranque Mitsubishi M2T10471 / M3T10071 / m3t10172
Juego de escobillas para Delco 1101432 / 1101694 / 1101695 / 1101696 / 1101697
Regulador para alternador valéo a11m11 / a11m12 / a11m3
Bendix / Piñone para motor de arranque Mitsubishi m191t33071 / M2T10171 / M2T10271
16 otros productos en la misma categoría:
Juego de escobillas / charbon para motor de arranque Mitsubishi M4T66074 / M4T66173
Juego de escobillas/charbon Jmtsx-48 para motor de arranque Mitsubishi A7T30271 / M2T54272 / M3T54071 / M3T54072/M3T61071/M3T61
Juego de escobillas / charbon para motor de arranque Mitsubishi M0T70281 / M0T70285 / M0T70381 / M0T70481
Juego de escobillas para motor de arranque Mitsubishi M5T20172 / M5T25373 / M5T27672
Jeu de 4 ressorts para motor de arranque Denso228000-2120 / 228000-2121 / 228000-2122
Juego de escobillas / charbon para motor de arranque Mitsubishi m0t85981 / m0t86081 / m1t85781
Juego de escobillas / Carbón para motor de arranque Mitsubishi M1T50172 / M1T50471
Juego de escobillas / charbon para motor de arranque Mitsubishi M001T90081 / M1T90081
Juego de escobillas para motor de arranque Mitsubishi M2T60072 / M2T60171 / M2T60172
Juego de escobillas para motor de arranque Mitsubishi M2T54371 / M2T54372 / M2T54571
Juego de escobillas/charbon Jmtsx-9 para motor de arranque Mitsubishi ME-Y1R, ME-Y3R
Juego de escobillas para motor de arranque Mitsubishi M2T84571 / M2T85271 / M2T85871 / M2T87271
Juego de escobillas / charbon para motor de arranque Mitsubishi M0T71981 / m0t82081 / M0T82081ZE
Juego de escobillas para motor de arranque Mitsubishi M00T22471 / m0t20871 / M0T20871ZE
Juego de escobillas / charbon para motor de arranque Mitsubishi M0T60081 / M0T60081A / M0T80081
Juego de escobillas / charbon para motor de arranque Mitsubishi m0t85381
¿Tiene alguna pregunta?
Wagendass está comprometido con la durabilidad de tu vehículo
Pièces neuves et sans consigne, garantie 2 ans
Garantías de repuestos con Wagendass
- Piezas nuevas
- Sin instrucciones
- Garantía de 2 años para todo tipo de vehículos
¿Cómo encontrar su pieza de repuesto en el sitio web de Wagendass?
El número de referencia de su pieza defectuosa es esencial para determinar la pieza de repuesto correcta. De hecho, cada marca tiene su propia nomenclatura para autentificar sus repuestos.
La referencia puede ser numérica o alfanumérica y deberá ser encontrada por tu parte.
Una vez que haya encontrado la referencia, ingrésela en la barra de búsqueda ubicada en la parte superior de nuestro sitio, en el centro.
El resultado propuesto será la pieza de recambio adaptada a su referencia.
Orígenes y adaptables
Ni devolución del antiguo
Amex,CB,Visa,MasterCard en 3D Secure y PayPal
Francia e internacional