-
Productos
-
-
-
Motores de arranque
- Motores de arranque de barco/marina
- Motores de arranque de coche
- Motores de arranque para camiones / volquetes / vehículos pesados
- Motores de arranque para motocicleta/scooter
- Motores de arranque para quads, motos de nieve y motos acuáticas
- Motores de arranque para tractores / maquinaria agrícola / equipos de construcción
-
-
-
-
-
Carburación
- Carburador
- Kit de juntas y piezas para carburador SOLEX
- Kit de juntas y piezas para carburador WEBER
- Kit de juntas y piezas para carburadores ZENITH / PIERBURG
- Kit de juntas y piezas para varios carburadores
- Membrana del carburador DELLORTO
- Membrana del carburador PIERBURG / SOLEX / ZENITH
- Membrana del carburador WEBER
-
-
-
-
Tipos de vehículos
-
- Marcas
- Alternadores
- Motores de arranque
- Climatizacion
Juego de escobillas/charbon Jmtsx-9 para motor de arranque Mitsubishi ME-Y1R, ME-Y3R
Caractéristique :
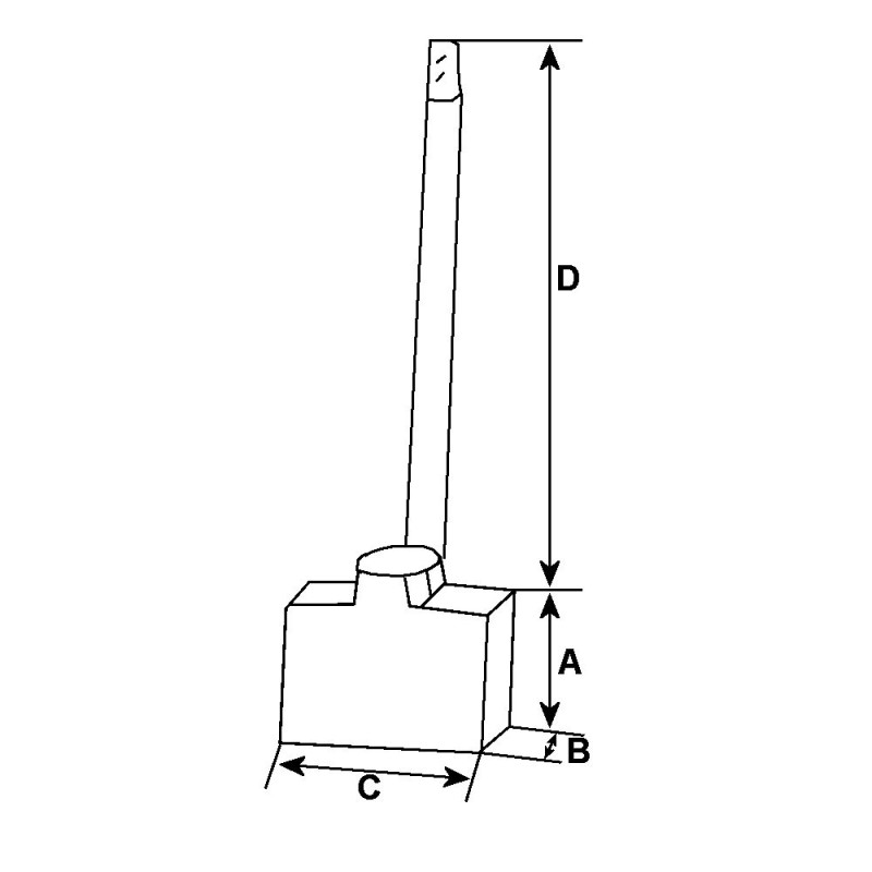
Voltaje 12
Longitud mm 14.00
Espesor mm 6.80
Altura mm 17.00
Longitud del cable 1 37.50
= ME700200, m648c10671, M648C10171, e6457044m
Características
Especificaciones físicas | ||
|---|---|---|
| C | Longitud mm | 14.00 |
| B | Espesor mm | 6.80 |
| A | Altura mm | 17.00 |
| D | Longitud del cable mm | 37.50 |
sustituye | |
|---|---|
| 0603-23-643 | MAZDA |
| 23380-21010 | NISSAN |
| e6457044m | MITSUBISHI |
| jasx29 | JAPANESE |
| jmtsx-9 | JAPANESE |
| M648C10171 | MITSUBISHI |
| m648c10671 | MITSUBISHI |
| ME700200 | MITSUBISHI |
| taj200 | LUCAS |
16 otros productos en la misma categoría:
Juego de escobillas/charbon para motor de arranque Mitsubishi M2T78372/M2T78381/M2T78382/M2T78383/M2T78482/M2T78571/ME013390/ME0
Jeu de 4 ressorts para motor de arranque Denso228000-2120 / 228000-2121 / 228000-2122
Juego de escobillas / charbon para motor de arranque Mitsubishi M002T10071 / M002T10171 / M002T10171
Juego de escobillas / charbon para motor de arranque Mitsubishi m0t85981 / m0t86081 / m1t85781
Juego de escobillas para motor de arranque Mitsubishi 1810A053 / M1T50071 / M2T10171
Juego de escobillas/charbon Jmtsx-24 para motor de arranque Mitsubishi
Juego de escobillas para motor de arranque Mitsubishi m1t50171 / M2T52871 / M2TS0571
Juego de escobillas / charbon para motor de arranque Mitsubishi M0T70281 / M0T70285 / M0T70381 / M0T70481
Juego de escobillas/charbon Jmtsx-48 para motor de arranque Mitsubishi A7T30271 / M2T54272 / M3T54071 / M3T54072/M3T61071/M3T61
Juego de escobillas / charbon para motor de arranque Mitsubishi M0T71981 / m0t82081 / M0T82081ZE
Juego de escobillas para motor de arranque Mitsubishi M2T84571 / M2T85271 / M2T85871 / M2T87271
Juego de escobillas / charbon para motor de arranque Mitsubishi M0T45271 / M0T45271ZT / M0T60081
Juego de escobillas / charbon para motor de arranque Mitsubishi M1T30271 / M1T93571
Juego de escobillas / charbon para motor de arranque Mitsubishi M4T50073/M4T50171/M4T55077
Juego de escobillas / charbon para motor de arranque Mitsubishi M2T30381 / M2T30385 / M2T30481
¿Tiene alguna pregunta?
Wagendass está comprometido con la durabilidad de tu vehículo
Pièces neuves et sans consigne, garantie 2 ans
Garantías de repuestos con Wagendass
- Piezas nuevas
- Sin instrucciones
- Garantía de 2 años para todo tipo de vehículos
¿Cómo encontrar su pieza de repuesto en el sitio web de Wagendass?
El número de referencia de su pieza defectuosa es esencial para determinar la pieza de repuesto correcta. De hecho, cada marca tiene su propia nomenclatura para autentificar sus repuestos.
La referencia puede ser numérica o alfanumérica y deberá ser encontrada por tu parte.
Una vez que haya encontrado la referencia, ingrésela en la barra de búsqueda ubicada en la parte superior de nuestro sitio, en el centro.
El resultado propuesto será la pieza de recambio adaptada a su referencia.
Orígenes y adaptables
Ni devolución del antiguo
Amex,CB,Visa,MasterCard en 3D Secure y PayPal
Francia e internacional