-
Productos
-
-
-
Motores de arranque
- Motores de arranque de barco/marina
- Motores de arranque de coche
- Motores de arranque para camiones / volquetes / vehículos pesados
- Motores de arranque para motocicleta/scooter
- Motores de arranque para quads, motos de nieve y motos acuáticas
- Motores de arranque para tractores / maquinaria agrícola / equipos de construcción
-
-
-
-
-
Carburación
- Carburador
- Kit de juntas y piezas para carburador SOLEX
- Kit de juntas y piezas para carburador WEBER
- Kit de juntas y piezas para carburadores ZENITH / PIERBURG
- Kit de juntas y piezas para varios carburadores
- Membrana del carburador DELLORTO
- Membrana del carburador PIERBURG / SOLEX / ZENITH
- Membrana del carburador WEBER
-
-
-
-
Tipos de vehículos
-
- Marcas
- Alternadores
- Motores de arranque
- Climatizacion
Juego de escobillas / charbon para motor de arranque Mitsubishi M4T50073/M4T50171/M4T55077
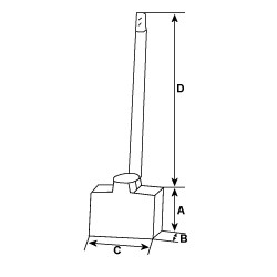
Caractéristique : Voltaje 12, Longitud mm 20.00, Espesor mm 8.00, Altura mm 25.00, Longitud del cable 1 42.50
= ME700210, m648c24974, m648c24973/974, m648c24971/972
Características
Especificaciones físicas | ||
|---|---|---|
| C | Longitud mm | 20.00 |
| B | Espesor mm | 8.00 |
| A | Altura mm | 25.00 |
| D | Longitud del cable mm | 42.50 |
sustituye | |
|---|---|
| jmtsx-46 | JAPANESE |
| m648c24971/972 | MITSUBISHI |
| m648c24973/974 | MITSUBISHI |
| m648c24974 | MITSUBISHI |
| ME700210 | MITSUBISHI |
16 otros productos en la misma categoría:
Juego de escobillas/charbon para motor de arranque Mitsubishi M2T78372/M2T78381/M2T78382/M2T78383/M2T78482/M2T78571/ME013390/ME0
Juego de escobillas para motor de arranque Mitsubishi M2T84571 / M2T85271 / M2T85871 / M2T87271
Juego de escobillas/charbon Jmtsx-37 para motor de arranque Mitsubishi M5T20172/M5T22175/M5T22176/M5T23272
Juego de escobillas / charbon para motor de arranque Mitsubishi M0T70681 / M0T70781 / M0T71581
Juego de escobillas / charbon para motor de arranque Mitsubishi M0T60081 / M0T60081A / M0T80081
Juego de escobillas para motor de arranque Mitsubishi M2T60072 / M2T60171 / M2T60172
Juego de escobillas para motor de arranque Mitsubishi M1T30071 / M1T30072 / M1T30171 / M1T30172
Juego de escobillas / charbon para motor de arranque Mitsubishi M1T30271 / M1T93571
Juego de escobillas / charbon para motor de arranque Mitsubishi M001T90081 / M1T90081
Juego de escobillas / charbon para motor de arranque Mitsubishi M2T24181 / M2T24281 / M2T25581
Juego de escobillas para motor de arranque Mitsubishi M00T22471 / m0t20871 / M0T20871ZE
Juego de escobillas/charbon Jmtsx-48 para motor de arranque Mitsubishi A7T30271 / M2T54272 / M3T54071 / M3T54072/M3T61071/M3T61
Juego de escobillas para motor de arranque Mitsubishi m1t50171 / M2T52871 / M2TS0571
Juego de escobillas/charbon Jmtsx-24 para motor de arranque Mitsubishi
Carbón para motor de arranque Mitsubishi 1810A050 / M2T84071 / M2T84071ZT / M2T84171
¿Tiene alguna pregunta?
Wagendass está comprometido con la durabilidad de tu vehículo
Pièces neuves et sans consigne, garantie 2 ans
Garantías de repuestos con Wagendass
- Piezas nuevas
- Sin instrucciones
- Garantía de 2 años para todo tipo de vehículos
¿Cómo encontrar su pieza de repuesto en el sitio web de Wagendass?
El número de referencia de su pieza defectuosa es esencial para determinar la pieza de repuesto correcta. De hecho, cada marca tiene su propia nomenclatura para autentificar sus repuestos.
La referencia puede ser numérica o alfanumérica y deberá ser encontrada por tu parte.
Una vez que haya encontrado la referencia, ingrésela en la barra de búsqueda ubicada en la parte superior de nuestro sitio, en el centro.
El resultado propuesto será la pieza de recambio adaptada a su referencia.
Orígenes y adaptables
Ni devolución del antiguo
Amex,CB,Visa,MasterCard en 3D Secure y PayPal
Francia e internacional