-
Productos
-
-
-
Motores de arranque
- Motores de arranque de barco/marina
- Motores de arranque de coche
- Motores de arranque para camiones / volquetes / vehículos pesados
- Motores de arranque para motocicleta/scooter
- Motores de arranque para quads, motos de nieve y motos acuáticas
- Motores de arranque para tractores / maquinaria agrícola / equipos de construcción
-
-
-
-
-
Carburación
- Carburador
- Kit de juntas y piezas para carburador SOLEX
- Kit de juntas y piezas para carburador WEBER
- Kit de juntas y piezas para carburadores ZENITH / PIERBURG
- Kit de juntas y piezas para varios carburadores
- Membrana del carburador DELLORTO
- Membrana del carburador PIERBURG / SOLEX / ZENITH
- Membrana del carburador WEBER
-
-
-
-
Tipos de vehículos
-
- Marcas
- Alternadores
- Motores de arranque
- Climatizacion
Juego de escobillas / charbon para motor de arranque Lucas M50 / M127 / 26227A / 26227Q / 26227R
para motor de arranque Lucas
| 26284E |
| 26295 |
| 26304D |
| 26336H |
| 26341A |
| 26349A |
| 26349B |
| 26352A |
| 26352B |
| 26357B |
| 26358 |
| 26358B |
| 26374 |
| 27510 |
| 27553A |
| 27575 |
= Lucas 54244979
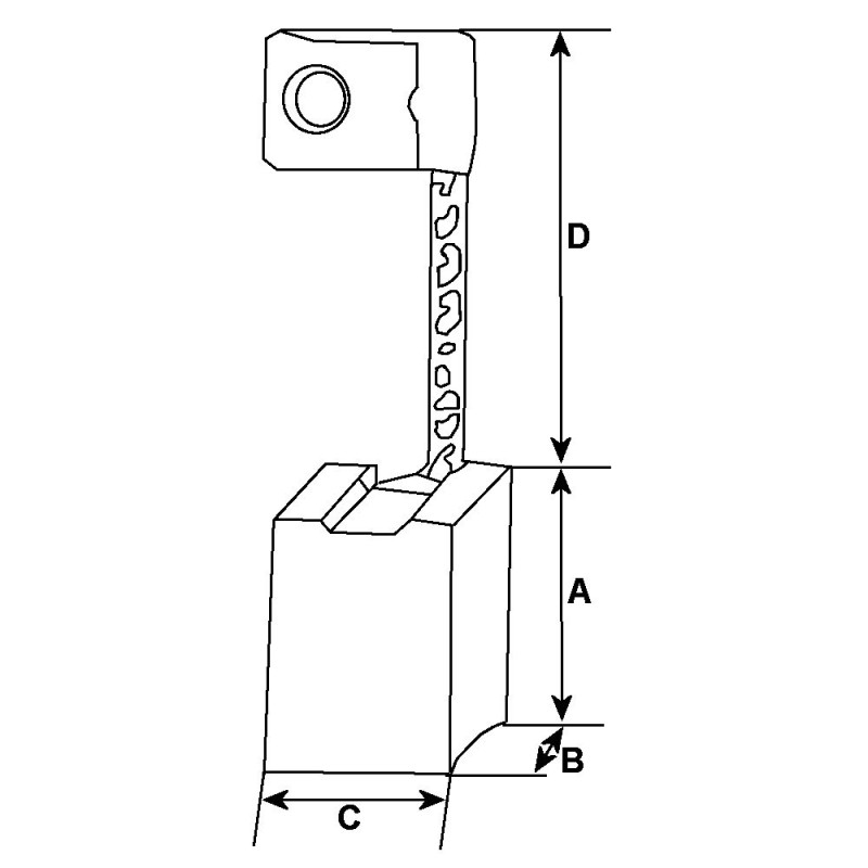
Características :
Voltaje 12
A = Longitud mm 26.00
B = Espesor mm 9.00
C = Ancho mm 20.00
D = Longitud del cable 1 71.00
Caractéristiques
= Lucas 54244979
Características :
Voltaje 12
A = Longitud mm 26.00
B = Espesor mm 9.00
C = Ancho mm 20.00
D = Longitud del cable 1 71.00
para motor de arranque Lucas :
M50
M127
26227A
26227Q
26227R
26227V
26234A
26234J
26234K
26246A
26246L
26246M
26265J
26265M
26273A
Los clientes que adquirieron este producto también compraron:
Regulador para alternador Lucas 54022415 / 54022578 / 54022711 / Marelli 5402245
Motor de arranque sustituyeLucas 26211 / NSB520 / LES0017 / 27614 / 27569A
Solenoide para motor de arranque Lucas M127 / 063227502010 / 063227510010
16 otros productos en la misma categoría:
Juego de escobillas para motor de arranque Lucas 25038 /, 25038E / 25038H / 25059A / 25059F / 25079A
Carbón para motor de arranque Lucas M78R / 26009 / 26800D / 26800H / 26801 / 26801B / 26801F / 26802B
Juego de escobillas para motor de arranque Lucas M50 / 26211 / 26211A
Juego de escobillas para motor de arranque Lucas 25022 / 25071 / 25079 / 25083 / 25085 / 25105 / 25112
Juego de escobillas / charbon JHTSX-8M para motor de arranque Hitachi S108-56 / S114-150 / S114-151 / S114-156A
Juego de escobillas para motor de arranque Magnyi Marelli 63224600 / 63224602 / 63224691
Juego de escobillas para motor de arranque Magnyi Marelli MT68 / 63216800 / 63216814
Resorte de balais para motor de arranque Lucas
Juego de escobillas / charbon para motor de arranque Magnyi Marelli E70R / 63111000 / 63111001
Juego de escobillas / charbon para motor de arranque Lucas M45G / M113 / 26132 / 26133
Juego de escobillas para motor de arranque Magnyi Marelli E80E / 30000A / 30001A / 63101002
Juego de escobillas para motor de arranque M80R / 5026489 / 89AB11000BA / 89BB11000CA
Juego de escobillas para motor de arranque Magnyi Marelli E95RL / 63114014 / 63222005
Juego de escobillas para motor de arranque Lucas tipo M80R / ACR
Juego de escobillas / charbon para motor de arranque Mitsubishi M2T30381 / M2T30385 / M2T30481
Juego de escobillas para motor de arranque Lucas 25521 / 25533 / 25555 / 25590 / 25593 / 25601
¿Tiene alguna pregunta?
Wagendass está comprometido con la durabilidad de tu vehículo
Pièces neuves et sans consigne, garantie 2 ans
Garantías de repuestos con Wagendass
- Piezas nuevas
- Sin instrucciones
- Garantía de 2 años para todo tipo de vehículos
¿Cómo encontrar su pieza de repuesto en el sitio web de Wagendass?
El número de referencia de su pieza defectuosa es esencial para determinar la pieza de repuesto correcta. De hecho, cada marca tiene su propia nomenclatura para autentificar sus repuestos.
La referencia puede ser numérica o alfanumérica y deberá ser encontrada por tu parte.
Una vez que haya encontrado la referencia, ingrésela en la barra de búsqueda ubicada en la parte superior de nuestro sitio, en el centro.
El resultado propuesto será la pieza de recambio adaptada a su referencia.
Orígenes y adaptables
Ni devolución del antiguo
Amex,CB,Visa,MasterCard en 3D Secure y PayPal
Francia e internacional