• Fuera de stock
Carbón para motor de arranque Lucas M78R / 26009 / 26800D / 26800H / 26801 / 26801B / 26801F / 26802B
Carbón para motor de arranque Lucas M78R / 26009 / 26800D / 26800H / 26801 / 26801B / 26801F / 26802B
Anterior
Siguiente
Carbón para motor de arranque Lucas M78R / 26009 / 26800D / 26800H / 26801 / 26801B / 26801F / 26802B
Carbón para motor de arranque Lucas M78R / 26009 / 26800D / 26800H / 26801 / 26801B / 26801F / 26802B

Carbón para motor de arranque Lucas M78R / 26009 / 26800D / 26800H / 26801 / 26801B / 26801F / 26802B

w140511

Carbón/ balais  para motor de arranque Lucas :

26803A / 26803D / 26804 / 26804A / 26804E / 26805 / 26806 / 26807 / 26808 / 26808A / 26809 / 26809A / 26810 / 26810A / 268111 / 26811A / 26813 / 26813A / 26814

les ressorts de balais se trouvent sous la referencia w135119

17,90 € Impuestos incluidos
El precio puede variar en función de su tipo IVA
2 años de garantía
Sin depósito, ni devolución del antiguo.
Pagos seguros

Características

Juego de escobillas  = Lucas tab134, 60600946

Land rover RTc5048

sbr5932

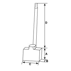
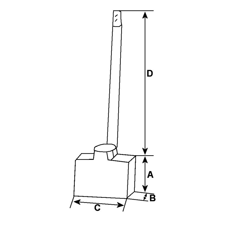
Especificaciones físicas
A Longitud mm 9.40
B Espesor mm 6.80
C Ancho mm 13.80
D Longitud del cable 2 mm 27.50
D Longitud del cable mm 50.00
Especificaciones eléctricas
Voltaje 12

les ressorts de balais se trouvent sous la referencia w135119

Wagendass está comprometido con la durabilidad de tu vehículo

Wagendass está comprometido con la durabilidad de tu vehículo

Pièces neuves et sans consigne, garantie 2 ans

Garantías de repuestos con Wagendass

  • Piezas nuevas
  • Sin instrucciones
  • Garantía de 2 años para todo tipo de vehículos

¿Cómo encontrar su pieza de repuesto en el sitio web de Wagendass?

El número de referencia de su pieza defectuosa es esencial para determinar la pieza de repuesto correcta. De hecho, cada marca tiene su propia nomenclatura para autentificar sus repuestos.

La referencia puede ser numérica o alfanumérica y deberá ser encontrada por tu parte.

Una vez que haya encontrado la referencia, ingrésela en la barra de búsqueda ubicada en la parte superior de nuestro sitio, en el centro.

El resultado propuesto será la pieza de recambio adaptada a su referencia.

Garantías de repuestos con Wagendass
Piezas nuevas

Orígenes y adaptables

Sin depósito

Ni devolución del antiguo

Pagos seguros

Amex,CB,Visa,MasterCard en 3D Secure y PayPal

Entrega rápida

Francia e internacional

Cargando...