-
Productos
-
-
-
Motores de arranque
- Motores de arranque de barco/marina
- Motores de arranque de coche
- Motores de arranque para camiones / volquetes / vehículos pesados
- Motores de arranque para motocicleta/scooter
- Motores de arranque para quads, motos de nieve y motos acuáticas
- Motores de arranque para tractores / maquinaria agrícola / equipos de construcción
-
-
-
-
-
Carburación
- Carburador
- Kit de juntas y piezas para carburador SOLEX
- Kit de juntas y piezas para carburador WEBER
- Kit de juntas y piezas para carburadores ZENITH / PIERBURG
- Kit de juntas y piezas para varios carburadores
- Membrana del carburador DELLORTO
- Membrana del carburador PIERBURG / SOLEX / ZENITH
- Membrana del carburador WEBER
-
-
-
-
Tipos de vehículos
-
- Marcas
- Alternadores
- Motores de arranque
- Climatizacion
Bendix para arranque Hitachi S114-232 / S114-232A / S114-237
Bendix pignon cargo bosch para motor de arranque :
= Hitachi 2114-95007, 2114-55007
= Wai 54-8131
= ZEN 1.01.0537.0
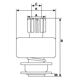
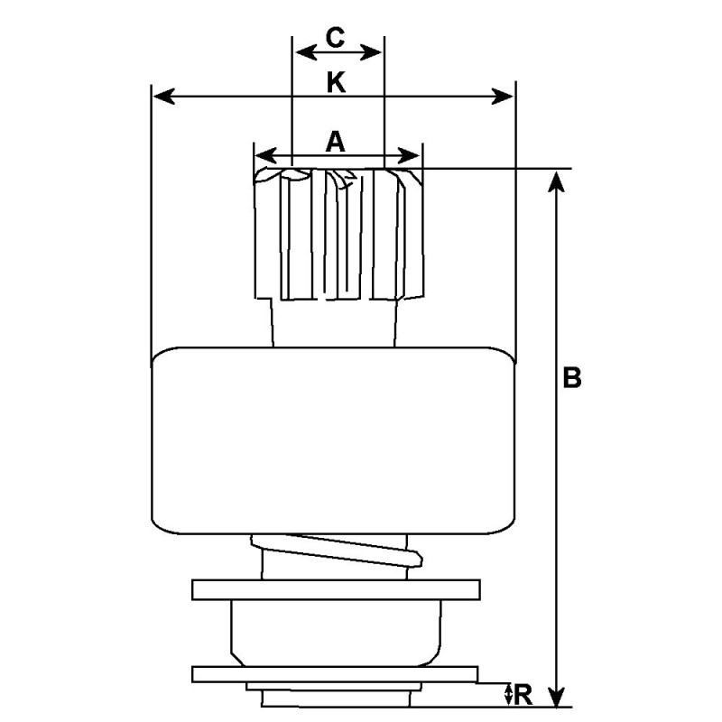
Características
Características :
A = DE 25.80
B = Longitud total 76.00
No. de dientes 9
Acanaladuras A 10
K = DE/logement 46.20
Rotación Cr
C = DI 12.00
para motor de arranque :
HITACHI S114-232
HITACHI S114-232A
HITACHI S114-237
HITACHI S114-297
VOLKSWAGEN 035911023C
16 otros productos en la misma categoría:
Bendix para arranque Hitachi S114-315 / S114-316 / S114-362
Bendix para arranque HITACHI S114-651 / S114-414 / S114-414A / S114-651 / S114-651A
Bendix / Piñone para motor de arranque Hitachi S13-107 / S13-107A / S24-05A / S24- 05B
Bendix para arranque MITSUBISHI 1810A101 / M000T22471 / M000T22472 / M000T35471 / M000T60081A / M000T60181 / M000T6018
Bendix para arranque Hitachi S114-253B / s114-254 / S114-254B
horquilla para démarrreur Hitachi S114-507A / S114-516 / S114-516A
Bendix para arranque Mitsubishi M2T43381 / M2T43581 / M2T43681
Bendix para arranque Mitsubishi M0T60081 / M0T60187 / M1T60281 /M1T60285
Bendix para arranque Mitsubishi m2t30481 / M2T41581 / M2T42381
Bendix para arranque Hitachi S13-160 / S14-102
Bendix para arranque Hitachi s114-317 / S114-317B / S114-318
Piñone para motor de arranque Mitsubishi m2t56171 / M2T56181 / M2T56182 / M2T56185 / M2T57271
Bendix para arranque Mitsubishi M002T87671 / M2T87671 / M1T31071
Bendix para arranque Mitsubishi M0T60081A / M0T60181 / M0T60181A
Bendix para arranque Hitachi S114-385 / S114-387 / S114-396 / S114-412
¿Tiene alguna pregunta?
Wagendass está comprometido con la durabilidad de tu vehículo
Pièces neuves et sans consigne, garantie 2 ans
Garantías de repuestos con Wagendass
- Piezas nuevas
- Sin instrucciones
- Garantía de 2 años para todo tipo de vehículos
¿Cómo encontrar su pieza de repuesto en el sitio web de Wagendass?
El número de referencia de su pieza defectuosa es esencial para determinar la pieza de repuesto correcta. De hecho, cada marca tiene su propia nomenclatura para autentificar sus repuestos.
La referencia puede ser numérica o alfanumérica y deberá ser encontrada por tu parte.
Una vez que haya encontrado la referencia, ingrésela en la barra de búsqueda ubicada en la parte superior de nuestro sitio, en el centro.
El resultado propuesto será la pieza de recambio adaptada a su referencia.
Orígenes y adaptables
Ni devolución del antiguo
Amex,CB,Visa,MasterCard en 3D Secure y PayPal
Francia e internacional