-
Productos
-
-
-
Motores de arranque
- Motores de arranque de barco/marina
- Motores de arranque de coche
- Motores de arranque para camiones / volquetes / vehículos pesados
- Motores de arranque para motocicleta/scooter
- Motores de arranque para quads, motos de nieve y motos acuáticas
- Motores de arranque para tractores / maquinaria agrícola / equipos de construcción
-
-
-
-
-
Carburación
- Carburador
- Kit de juntas y piezas para carburador SOLEX
- Kit de juntas y piezas para carburador WEBER
- Kit de juntas y piezas para carburadores ZENITH / PIERBURG
- Kit de juntas y piezas para varios carburadores
- Membrana del carburador DELLORTO
- Membrana del carburador PIERBURG / SOLEX / ZENITH
- Membrana del carburador WEBER
-
-
-
-
Tipos de vehículos
-
- Marcas
- Alternadores
- Motores de arranque
- Climatizacion
Bendix para arranque Mitsubishi M002T88571 / M002T88572 / M002T88572ZC
Bendix para arranque Mitsubishi :
M002T88571, M002T88572,M002T88572ZC, M2T88571, M2T88572,
M2T88572ZC
= referencia M191T94571
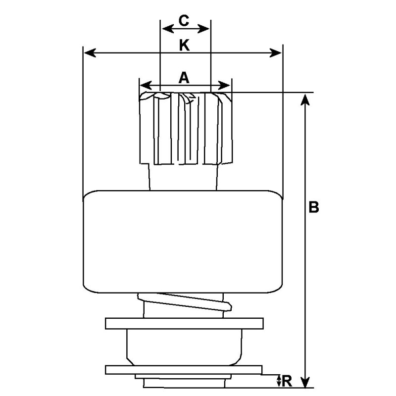
Características
Información física | ||
|---|---|---|
| A | DE mm | 32.40 |
| B | Longitud total mm | 51.50 |
| C | DI mm | 13.15 |
| Tipo Bendix | Acero | |
| No./teyh | 12 | |
| Acanaladuras A | 8 | |
| K | DE/logement mm | 47.00 |
| Rotación | Cr | |
marca genérica
16 otros productos en la misma categoría:
Kit butee Bendix para motor de arranque Mitsubishi M0T50071 / M0T50271 / M0T50371
Bendix para arranque Hitachi s12-19 / S12-24A / s12-41
Couronne réducteur para motor de arranque Mitsubishi M008T55171 / M008T60071 / M008T60071A
Bendix para arranque Mitsubishi M1T72281 / M1T72281A / M1T72285
Bendix para arranque Mitsubishi 1810A008 / M0T31671 / M0T31675
Bendix para arranque Hitachi s114-103 / s114-121 / s114-122
Couronne dentelée para motor de arranque Hitachi S114-505A / S114-516A / S114- 516B
Bendix para arranque Hitachi S114-245 / S114-273 / S114-303 / S114-303A
Piñone para motor de arranque Mitsubishi M009T64671 / M009T65479
Kit butée Bendix para motor de arranque Hitachi S114-252F / S114-253B / S114- 254D
Bendix para arranque Hitachi S114-152 / S114-155 / s114-161
Bendix para arranque Hitachi S13-160 / S14-102
Bendix para arranque Mitsubishi 1810A053 / M2T80582 / m2t84071 / M2T84071ZT
Bendix para arranque Mitsubishi M5T22175 / M5T22176
Bendix para arranque Mitsubishi M2T30681 / M2T30685 / M2T30686
¿Tiene alguna pregunta?
Wagendass está comprometido con la durabilidad de tu vehículo
Pièces neuves et sans consigne, garantie 2 ans
Garantías de repuestos con Wagendass
- Piezas nuevas
- Sin instrucciones
- Garantía de 2 años para todo tipo de vehículos
¿Cómo encontrar su pieza de repuesto en el sitio web de Wagendass?
El número de referencia de su pieza defectuosa es esencial para determinar la pieza de repuesto correcta. De hecho, cada marca tiene su propia nomenclatura para autentificar sus repuestos.
La referencia puede ser numérica o alfanumérica y deberá ser encontrada por tu parte.
Una vez que haya encontrado la referencia, ingrésela en la barra de búsqueda ubicada en la parte superior de nuestro sitio, en el centro.
El resultado propuesto será la pieza de recambio adaptada a su referencia.
Orígenes y adaptables
Ni devolución del antiguo
Amex,CB,Visa,MasterCard en 3D Secure y PayPal
Francia e internacional