-
Productos
-
-
-
Motores de arranque
- Motores de arranque de barco/marina
- Motores de arranque de coche
- Motores de arranque para camiones / volquetes / vehículos pesados
- Motores de arranque para motocicleta/scooter
- Motores de arranque para quads, motos de nieve y motos acuáticas
- Motores de arranque para tractores / maquinaria agrícola / equipos de construcción
-
-
-
-
-
Carburación
- Carburador
- Kit de juntas y piezas para carburador SOLEX
- Kit de juntas y piezas para carburador WEBER
- Kit de juntas y piezas para carburadores ZENITH / PIERBURG
- Kit de juntas y piezas para varios carburadores
- Membrana del carburador DELLORTO
- Membrana del carburador PIERBURG / SOLEX / ZENITH
- Membrana del carburador WEBER
-
-
-
-
Tipos de vehículos
-
- Marcas
- Alternadores
- Motores de arranque
- Climatizacion
Anillo de Butée para motor de arranque Delco Remy 10455318 / 10455319 / 10455320 / 10455321 / 1113148
Anillo de butée para motor de arranque Delco Remy 1113148
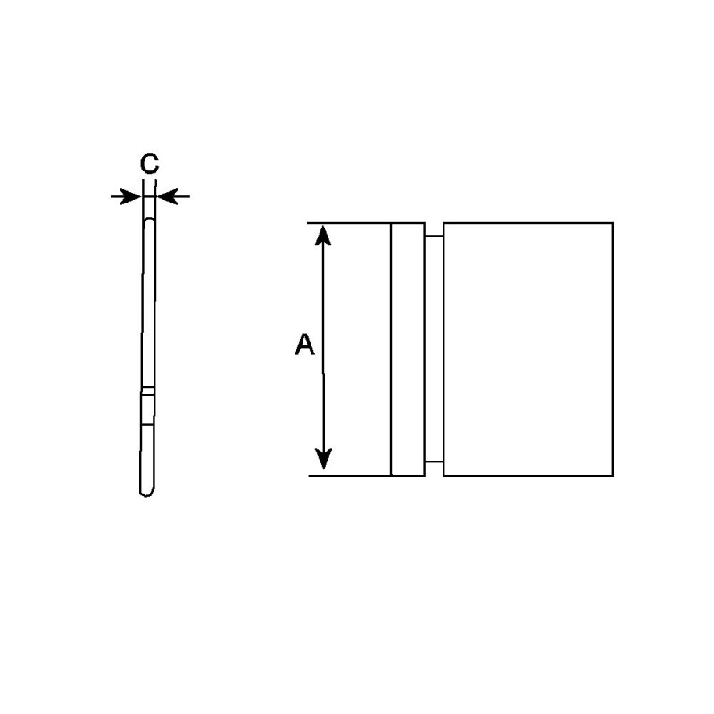
Características
Especificaciones físicas | ||
|---|---|---|
| C | Espesor mm | 1.75 |
| Material | Acero | |
sustituye | ||
|---|---|---|
| 1928022 | REMY (DELCO) | |
Para Motor de arranque
10MT, 15GR, 20MT, 22MT, 25MT,
27MT, 30MT, 35MT, 10455304, 10455316,
10455317, 10455318, 10455319, 10455320,
10455321, 1113148
16 otros productos en la misma categoría:
Anillo para motor de arranque D11E109 / D11E120 / D11E131 / D11E142
Anillo de frein para motor de arranque Delco Remy 10455309 / 10455310 / 10455311 / 10455312 / 1113148
Kit de reparación para motor de arranque Kawasaki 21163-S003 / Mitsuba LT80-CS90 / SM10230 / Suzuki 31100-40B01
Juego de escobillas para motor Bosch 0136355057 / 0136355061 / 0136355067
Anillo para motor de arranque Magnyi Marelli 63111000 / 63111001 / 63111005 / 63111006
Anillo para motor de arranque Lucas 26370 / 26371 / 27409 / 27410
Armadura para motor de arranque Ducellier 6155G / 6155H / 6155J / 6155K / 6155L
Rodamiento aiguille para motor de arranque Bosch 0001106023 / 0001106024 / 0001107030
Béndix para arranque Bosch 0001107043 / 0001107087 / 0001113010
Béndix para arranque Magnyi Marelli 63222035 / 63222204 / 63229035
Coussiny para motor de arranque Delco remy 10451047 / 10455855 / 10461020 / 10461037
Joint spi para alternador Denso 021000-2422 / 021000-2522 / 021000- 2532
Kit de reparación para motor de arranque Bosch 0001230006 / 0001231002
Anillo para motor de arranque Mitsubishi 1810A062 / 1810A143 / M000T20171 / M000T20871
Béndix para arranque MITSUBISHI 1810A101 / M000T22471 / M000T22472 / M000T35471 / M000T60081A / M000T60181 / M000T6018
¿Tiene alguna pregunta?
Wagendass está comprometido con la durabilidad de tu vehículo
Pièces neuves et sans consigne, garantie 2 ans
Garantías de repuestos con Wagendass
- Piezas nuevas
- Sin instrucciones
- Garantía de 2 años para todo tipo de vehículos
¿Cómo encontrar su pieza de repuesto en el sitio web de Wagendass?
El número de referencia de su pieza defectuosa es esencial para determinar la pieza de repuesto correcta. De hecho, cada marca tiene su propia nomenclatura para autentificar sus repuestos.
La referencia puede ser numérica o alfanumérica y deberá ser encontrada por tu parte.
Una vez que haya encontrado la referencia, ingrésela en la barra de búsqueda ubicada en la parte superior de nuestro sitio, en el centro.
El resultado propuesto será la pieza de recambio adaptada a su referencia.
Orígenes y adaptables
Ni devolución del antiguo
Amex,CB,Visa,MasterCard en 3D Secure y PayPal
Francia e internacional