-
Productos
-
-
-
Motores de arranque
- Motores de arranque de barco/marina
- Motores de arranque de coche
- Motores de arranque para camiones / volquetes / vehículos pesados
- Motores de arranque para motocicleta/scooter
- Motores de arranque para quads, motos de nieve y motos acuáticas
- Motores de arranque para tractores / maquinaria agrícola / equipos de construcción
-
-
-
-
-
Carburación
- Carburador
- Kit de juntas y piezas para carburador SOLEX
- Kit de juntas y piezas para carburador WEBER
- Kit de juntas y piezas para carburadores ZENITH / PIERBURG
- Kit de juntas y piezas para varios carburadores
- Membrana del carburador DELLORTO
- Membrana del carburador PIERBURG / SOLEX / ZENITH
- Membrana del carburador WEBER
-
-
-
-
Tipos de vehículos
-
- Marcas
- Alternadores
- Motores de arranque
- Climatizacion
Juego de escobillas para dinamo Lucas 22756H / 22758A / 22758E / 22761B
Juego de escobillas / charbon para dinamo Lucas 22756H / 22758A / 22758E / 22761B
C40T, 22756A, 22756H, 22758A,22758E, 22761B, 22761E, 22762B, 22762E,
22764A, 22764E, 22769B, 22769D, 22783A,
22792A
= Lucas USB106 / 54216361
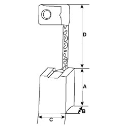
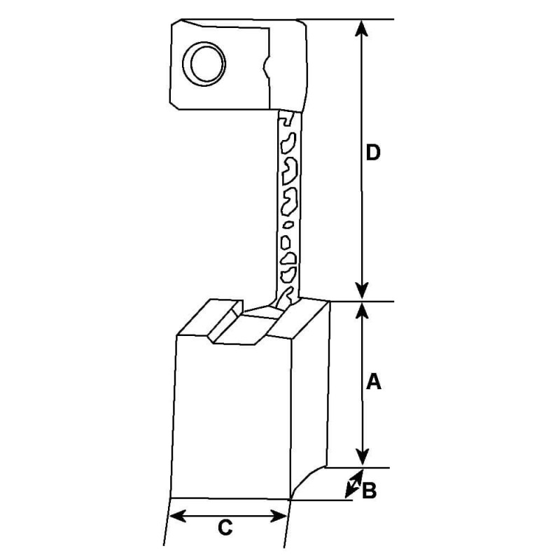
Características
Especificaciones eléctricas |
||
|---|---|---|
| Voltaje | 14 | |
Especificaciones físicas |
||
|---|---|---|
| A | Longitud mm | 23.00 |
| B | Espesor mm | 5.50 |
| C | Ancho mm | 17.40 |
| D | Longitud del cable mm | 54.71 |
Los clientes que adquirieron este producto también compraron:
Solenoide para motor de arranque Ducellier 6056H / 6056J / 6109F / 6109G / 6109H
Rodamiento sustituyee SKF 6302-2rs1 / Lucas utb101 / Denso 949100-0390
Rodamiento para Dinamo Lucas 22755A / 22755H / 22756A / 22756H
Rodamiento tipo 6202 / 6202-2Z para alternador
16 otros productos en la misma categoría:
Palier côté collecteur para Dinamo G10C25 / G10C42 / G10C49
Juego de carbón para dinamo Ducellier 7251A / 7265A / 7267A
Juego de escobillas para Delco 1101432 / 1101694 / 1101695 / 1101696 / 1101697
Juego de carbón para dinamo Ducellier 225G / 225H / 233G / 265C
Juego de escobillas / Carbón para dinamo
Juego de escobillas / Carbón para dinamo Fiat R 115.300/12.2000
Juego de escobillas / Carbón para dinamo Fiat sobre Autobianchi A111 - A112
Juego de escobillas / Carbón para dinamo Fiat DVS 90 / 12 / 16 3S
Juego de escobillas / Carbón para dinamo Fiat D 11S / 12 / 28 / 4C sobre Fiat 1500
Juego de escobillas max21 para dinamo Magneti marelli
Juego de carbones UX48 para dinamo Ducellier
Juego de escobillas / charbon para dinamo Ducellier 9559A
Juego de escobillas para BOSCH 010 206135 / 0101206157 / 0101209031 / 0101209031
Juego de escobillas / charbon para dinamo Lucas 22700 / 22703 / 22704
Juego de escobillas para dinamo Ducellier 7070 / 7078 motor Bernard
Juego de carbón para dinamo Ducellier 7176A / 7177A / 7182A
¿Tiene alguna pregunta?
Wagendass está comprometido con la durabilidad de tu vehículo
Pièces neuves et sans consigne, garantie 2 ans
Garantías de repuestos con Wagendass
- Piezas nuevas
- Sin instrucciones
- Garantía de 2 años para todo tipo de vehículos
¿Cómo encontrar su pieza de repuesto en el sitio web de Wagendass?
El número de referencia de su pieza defectuosa es esencial para determinar la pieza de repuesto correcta. De hecho, cada marca tiene su propia nomenclatura para autentificar sus repuestos.
La referencia puede ser numérica o alfanumérica y deberá ser encontrada por tu parte.
Una vez que haya encontrado la referencia, ingrésela en la barra de búsqueda ubicada en la parte superior de nuestro sitio, en el centro.
El resultado propuesto será la pieza de recambio adaptada a su referencia.
Orígenes y adaptables
Ni devolución del antiguo
Amex,CB,Visa,MasterCard en 3D Secure y PayPal
Francia e internacional