-
Productos
-
-
-
Motores de arranque
- Motores de arranque de barco/marina
- Motores de arranque de coche
- Motores de arranque para camiones / volquetes / vehículos pesados
- Motores de arranque para motocicleta/scooter
- Motores de arranque para quads, motos de nieve y motos acuáticas
- Motores de arranque para tractores / maquinaria agrícola / equipos de construcción
-
-
-
-
-
Carburación
- Carburador
- Kit de juntas y piezas para carburador SOLEX
- Kit de juntas y piezas para carburador WEBER
- Kit de juntas y piezas para carburadores ZENITH / PIERBURG
- Kit de juntas y piezas para varios carburadores
- Membrana del carburador DELLORTO
- Membrana del carburador PIERBURG / SOLEX / ZENITH
- Membrana del carburador WEBER
-
-
-
-
Tipos de vehículos
-
- Marcas
- Alternadores
- Motores de arranque
- Climatizacion
Juego de escobillas para motor de arranque Bosch 0001208516 / 0001208710 / 0001211514
para motor de arranque
0001312108 / 0001312109 / 0001317007 / 0001317008 / 0001317009 / 0001317010
0001317011 / 0001317012 / 0001317013
= Bosch 1007014144 / 1007014138
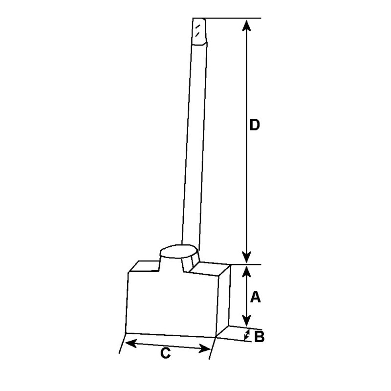
Características
Juego de escobillas:
Características :
Voltaje 12
A = Altura 15.00
B = Espesor mm 7.00
C = Ancho mm 16.00
D = Longitud del cable mm 21.00
= Bosch 1007014144 / 1007014138
para motor de arranque Bosch:
0001208516
0001208710
0001211514
0001312108
0001312109
0001317007
0001317008
0001317009
0001317010
0001317011
0001317012
0001317013
0001317016
0001317017
0001317018
0001317019
0001317022
0001317023
0001317024
0001317025
Los clientes que adquirieron este producto también compraron:
Regulador para alternador Bosch 0124225001 / 0124225002 / 0124225004 / 0124225009
Piñone para motor de arranque Denso128000-0120 / 128000-0130 / 128000-0280
Regulador Bosch 1986AE0120 / F00M144128 sustituye F00M144126 / F00M145223
Juego de escobillas / charbon para motor de arranque Denso 228000-2120 / 228000-2121 / 228000-2122
Juego de escobillas / charbon para motor de arranque Magneti Marelli E70R / 63111000 / 63111001
Regulador para alternador Denso 104210-271 / 104210-3523 / 104210-5770
Regulador para alternador valéo 2104248 / 2181699 / 2181726
16 otros productos en la misma categoría:
Juego de escobillas / charbon para motor de arranque Bosch 0001219001 / 0001219002 / 0001219003
Juego de escobillas / charbon para motor de arranque Bosch 0001230001 / 0001230002 / 0001230004
Juego de escobillas para motor de arranque Bosch 0001420001 / 0001420002 / 0001420003
Juego de escobillas para motor de arranque Bosch 0001370001 / 0001370002 / 0001370003
Juego de escobillas para motor de arranque 0001360002 / 0001360007 / 0001360008
Juego de escobillas para motor de arranque Bosch 0001211500 / 0001211501 / 0001211502
Juego de escobillas para motor de arranque Bosch 0001208004 / 0001208006 / 0001208007
Juego de escobillas para motor de arranque Bosch 0001218124 / 0001218125 / 0001218126
Juego de escobillas para motor de arranque Bosch 0001368001 / 0001368002 / 0001368003
Juego de escobillas para motor de arranque Bosch 0001421001 / 0001421002 / 0001421003
Juego de escobillas para motor de arranque Bosch 0001358201 / 0001358202 / 0001359001
portaescobillas para motor de arranque Bosch 0001122400 / 0001122401 / 0001122402 / 0001122403
Juego de escobillas para motor de arranque 000124100 / 0001261001
Juego de escobillas para motor de arranque 0001124018 / 0001124019
Juego de escobillas para motor de arranque Bosch 0001364300 / 0001364301 / 0001364400
Juego de escobillas para motor de arranque Bosch 0001116001 / 0001116003 / 0001116005
¿Tiene alguna pregunta?
Wagendass está comprometido con la durabilidad de tu vehículo
Pièces neuves et sans consigne, garantie 2 ans
Garantías de repuestos con Wagendass
- Piezas nuevas
- Sin instrucciones
- Garantía de 2 años para todo tipo de vehículos
¿Cómo encontrar su pieza de repuesto en el sitio web de Wagendass?
El número de referencia de su pieza defectuosa es esencial para determinar la pieza de repuesto correcta. De hecho, cada marca tiene su propia nomenclatura para autentificar sus repuestos.
La referencia puede ser numérica o alfanumérica y deberá ser encontrada por tu parte.
Una vez que haya encontrado la referencia, ingrésela en la barra de búsqueda ubicada en la parte superior de nuestro sitio, en el centro.
El resultado propuesto será la pieza de recambio adaptada a su referencia.
Orígenes y adaptables
Ni devolución del antiguo
Amex,CB,Visa,MasterCard en 3D Secure y PayPal
Francia e internacional