-
Productos
-
-
-
Motores de arranque
- Motores de arranque de barco/marina
- Motores de arranque de coche
- Motores de arranque para camiones / volquetes / vehículos pesados
- Motores de arranque para motocicleta/scooter
- Motores de arranque para quads, motos de nieve y motos acuáticas
- Motores de arranque para tractores / maquinaria agrícola / equipos de construcción
-
-
-
-
-
Carburación
- Carburador
- Kit de juntas y piezas para carburador SOLEX
- Kit de juntas y piezas para carburador WEBER
- Kit de juntas y piezas para carburadores ZENITH / PIERBURG
- Kit de juntas y piezas para varios carburadores
- Membrana del carburador DELLORTO
- Membrana del carburador PIERBURG / SOLEX / ZENITH
- Membrana del carburador WEBER
-
-
-
-
Tipos de vehículos
-
- Marcas
- Alternadores
- Motores de arranque
- Climatizacion
Juego de escobillas para motor de arranque Bosch 0001208004 / 0001208006 / 0001208007
Juego de escobillas / charbon Cargo Bosch compagnie
para motor de arranque
0001208004 / 0001208006 / 0001208007 / 0001208017 / 0001208018 / 0001208029
0001208032 / 0001208036 / 0001208037 / 0001208038 / 0001212005 / 0001311050
0001314014
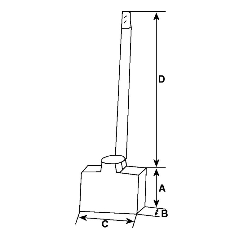
Características
Características :
Voltaje 12
A = Longitud mm 18.05
B = Espesor mm 6.90
C = Ancho mm 15.80
D = Longitud del cable 1 32.50
Juego de escobillas:
= Bosch: 1007014129 / 1007014134
para motor de arranque Bosch:
0001208004
0001208006
0001208007
0001208017
0001208018
0001208029
0001208032
0001208036
0001208037
0001208038
0001212005
0001311050
0001314014
Los clientes que adquirieron este producto también compraron:
Anillo para motor de arranque Bosch 0001208205 / 0001218002 / 0001218004 / 0001218005
portaescobillas para motor de arranque Bosch 0001207001 / 0001207005 / 0001207016
Casquillos para motor de arranque Bosch 0001157001 / 0001157002 / 0001157003
Anillo para motor de arranque Bosch 0001108208 / 0001211995 / 0001208054
Juego de escobillas para alternador AAG1341 / 0120339526 / 0120339537
Rodamiento tipo 6203 -2RS para alternador
Béndix para arranque Bosch 0001212005 / 0001212006 / 0001212007
16 otros productos en la misma categoría:
Juego de escobillas / charbon para motor de arranque Bosch 0001219001 / 0001219002 / 0001219003
Juego de escobillas para motor de arranque Bosch 0001108400 / 0001108401 / 0001108402 / 0001108403
Juego de escobillas para motor de arranque Bosch 0001312103 / 0001313006 / 0001314005
Juego de escobillas para motor de arranque Bosch 9000083053 / 9000083054 / 9000083055
Juego de escobillas para motor de arranque Bosch 0001362300 / 0001362301 / 0001362302
Juego de escobillas para motor de arranque Bosch 0001420001 / 0001420002 / 0001420003
Juego de escobillas para motor de arranque 0001330001 / 0001330003
Juego de escobillas para motor de arranque Bosch 0001363001 / 0001363101 / 0001363102
Juego de escobillas para motor de arranque Bosch 0001401069 / 0001402018 / 0001402031
Resorte para motor de arranque Nikko 0-21000-4720 / 0-21000-4930 / 0-21000-4931
Juego de escobillas para motor de arranque 0001157001 / 0001157002 / 0001157003 / 0001157004
Juego de escobillas para motor de arranque Bosch 0001211500 / 0001211501 / 0001211502
Juego de escobillas / charbon para motor de arranque Bosch 0001362039 / 0001362040 / 0001362047
Resorte de balais para motor de arranque Bosch 0001218127 /0001364301 / 0001367001
Juego de escobillas para motor de arranque Bosch 0001154001 / 0001154007
Juego de escobillas para motor de arranque 0001261002
¿Tiene alguna pregunta?
Wagendass está comprometido con la durabilidad de tu vehículo
Pièces neuves et sans consigne, garantie 2 ans
Garantías de repuestos con Wagendass
- Piezas nuevas
- Sin instrucciones
- Garantía de 2 años para todo tipo de vehículos
¿Cómo encontrar su pieza de repuesto en el sitio web de Wagendass?
El número de referencia de su pieza defectuosa es esencial para determinar la pieza de repuesto correcta. De hecho, cada marca tiene su propia nomenclatura para autentificar sus repuestos.
La referencia puede ser numérica o alfanumérica y deberá ser encontrada por tu parte.
Una vez que haya encontrado la referencia, ingrésela en la barra de búsqueda ubicada en la parte superior de nuestro sitio, en el centro.
El resultado propuesto será la pieza de recambio adaptada a su referencia.
Orígenes y adaptables
Ni devolución del antiguo
Amex,CB,Visa,MasterCard en 3D Secure y PayPal
Francia e internacional