-
Productos
-
-
-
Motores de arranque
- Motores de arranque de barco/marina
- Motores de arranque de coche
- Motores de arranque para camiones / volquetes / vehículos pesados
- Motores de arranque para motocicleta/scooter
- Motores de arranque para quads, motos de nieve y motos acuáticas
- Motores de arranque para tractores / maquinaria agrícola / equipos de construcción
-
-
-
-
-
Carburación
- Carburador
- Kit de juntas y piezas para carburador SOLEX
- Kit de juntas y piezas para carburador WEBER
- Kit de juntas y piezas para carburadores ZENITH / PIERBURG
- Kit de juntas y piezas para varios carburadores
- Membrana del carburador DELLORTO
- Membrana del carburador PIERBURG / SOLEX / ZENITH
- Membrana del carburador WEBER
-
-
-
-
Tipos de vehículos
-
- Marcas
- Alternadores
- Motores de arranque
- Climatizacion
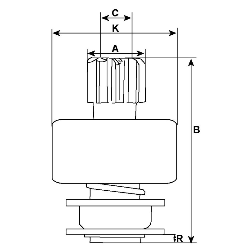
Bendix para arranque d9e31 / d9e32 / d9e40 / d9e45 / D9e53
Pignon / Bendix para arranque :
d9e31 / d9e32 / d9e40 / d9e45 / D9e53 / d9e64 / d9e75 / d9e82 / d9e87 / d9e95
= valéo 098896 / 106009
= zen 1.01.0288.0
Características
Características :
A = DE 25.30
B = Longitud total 69.20
No. dientes 9
Acanaladuras A 9
K = DE/logement 46.25
Rotación Cr
C = DI 12.00
Los clientes que adquirieron este producto también compraron:
Casquillos para motor de arranque 534005 / 534007 / 534009 / 534023
Solénoide para motor de arranque d10e85 / d10e92 / d10e921
Kit de cepillos / soporte para cepillos para motor de arranque VALEO D9E40 / D9E43 / D9E44
Juego de escobillas / carbón para motor de arranque d9e100 / d9e102 / d9e104
16 otros productos en la misma categoría:
Piñone para motor de arranque Ducellier 6208a sobre GS
Bendix para motor de arranque Paris-rhone D11E98
Bendix para arranque Paris-rhone D8E157
Bendix para arranque Valéo D7E29 / D7E30 / D7E31 / D7E32 / D7E42
Bendix para arranque Paris-rhone D11E191 / D11E192
Bendix para arranque Valéo d9r134 / d9r73
Bendix para Briggs & Stratton 490753 / 495104 / Onan 191-1630
Bendix para arranque Paris Rhône D8E77 / D8E87
Bendix para arranque Valéo / Paris-rhone D11E142 / d11e159 / d11e165
Piñone/ couronne para motor de arranque
Bendix para motor de arranque Paris -rhone D8L2 / D8L5 / D8L10
Bendix para arranque Ducellier 6113A / 6113B
Bendix para arranque Ducellier 6090
Bendix 294704 para motor de arranque Ducellier 6161A
Bendix para arranque Paris Rhône D9E104
Bendix / Piñone para motor de arranque Ducellier 6230A
¿Tiene alguna pregunta?
Wagendass está comprometido con la durabilidad de tu vehículo
Pièces neuves et sans consigne, garantie 2 ans
Garantías de repuestos con Wagendass
- Piezas nuevas
- Sin instrucciones
- Garantía de 2 años para todo tipo de vehículos
¿Cómo encontrar su pieza de repuesto en el sitio web de Wagendass?
El número de referencia de su pieza defectuosa es esencial para determinar la pieza de repuesto correcta. De hecho, cada marca tiene su propia nomenclatura para autentificar sus repuestos.
La referencia puede ser numérica o alfanumérica y deberá ser encontrada por tu parte.
Una vez que haya encontrado la referencia, ingrésela en la barra de búsqueda ubicada en la parte superior de nuestro sitio, en el centro.
El resultado propuesto será la pieza de recambio adaptada a su referencia.
Orígenes y adaptables
Ni devolución del antiguo
Amex,CB,Visa,MasterCard en 3D Secure y PayPal
Francia e internacional