-
Productos
-
-
-
Motores de arranque
- Motores de arranque de barco/marina
- Motores de arranque de coche
- Motores de arranque para camiones / volquetes / vehículos pesados
- Motores de arranque para motocicleta/scooter
- Motores de arranque para quads, motos de nieve y motos acuáticas
- Motores de arranque para tractores / maquinaria agrícola / equipos de construcción
-
-
-
-
-
Carburación
- Carburador
- Kit de juntas y piezas para carburador SOLEX
- Kit de juntas y piezas para carburador WEBER
- Kit de juntas y piezas para carburadores ZENITH / PIERBURG
- Kit de juntas y piezas para varios carburadores
- Membrana del carburador DELLORTO
- Membrana del carburador PIERBURG / SOLEX / ZENITH
- Membrana del carburador WEBER
-
-
-
-
Tipos de vehículos
-
- Marcas
- Alternadores
- Motores de arranque
- Climatizacion
Bendix para arranque Valéo / Paris-rhone D10E48 / D10E63 / D10E80
Bendix para motor de arranque Valéo / Paris-rhone :
D10E48 / D10E63 / D10E80 / D8E104
D8E122 / D8E124 / D8E76 / D8E96
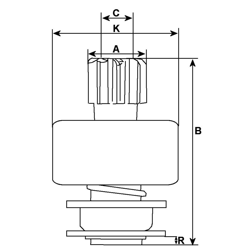
Características
Especificaciones físicas |
||
|---|---|---|
| A | DE mm | 25.30 |
| B | Longitud total mm | 69.00 |
| No. de dientes | 9 | |
| Acanaladuras A | 9 | |
| K | DE/logement mm | 46.90 |
| Rotación | Cr | |
| C | DI mm | 12.00 |
para motor de arranque :
D10E48
D10E63
D10E80
D8E104
D8E122
D8E124
D8E76
D8E96
16 otros productos en la misma categoría:
Bendix para arranque Ducellier 6178A / 6178B
Bendix para arranque Paris-rhone D11E191 / D11E192
Bendix para arranque Paris Rhône D9E104
Bendix para arranque Paris-rhone D11E164
Bendix para motor de arranque Paris-rhone D11E98
Bendix para arranque Valéo d11e163 / d11e169 / d11e176
Kit butee Bendix para arranque Valéo D6RA13 / D6RA18 / D6RA22
Bendix para arranque Valéo d9e16 / d9e21
Bendix para Briggs & Stratton 490753 / 495104 / Onan 191-1630
Conjunto bendix/rotor para motor de arranque Ducellier 6162A / 6162C / 6162E
Bendix para arranque Ducellier 6068 / 6068A
Bendix / Piñone para motor de arranque Ducellier 6079 / 6079B
Bendix / Piñone para motor de arranque Ducellier 6121A / 6034B
Bendix para arranque Valéo / Paris-rhone D11E126 / d11e93
Bendix para arranque Ducellier 6178C / 6178D
¿Tiene alguna pregunta?
Wagendass está comprometido con la durabilidad de tu vehículo
Pièces neuves et sans consigne, garantie 2 ans
Garantías de repuestos con Wagendass
- Piezas nuevas
- Sin instrucciones
- Garantía de 2 años para todo tipo de vehículos
¿Cómo encontrar su pieza de repuesto en el sitio web de Wagendass?
El número de referencia de su pieza defectuosa es esencial para determinar la pieza de repuesto correcta. De hecho, cada marca tiene su propia nomenclatura para autentificar sus repuestos.
La referencia puede ser numérica o alfanumérica y deberá ser encontrada por tu parte.
Una vez que haya encontrado la referencia, ingrésela en la barra de búsqueda ubicada en la parte superior de nuestro sitio, en el centro.
El resultado propuesto será la pieza de recambio adaptada a su referencia.
Orígenes y adaptables
Ni devolución del antiguo
Amex,CB,Visa,MasterCard en 3D Secure y PayPal
Francia e internacional