-
Productos
-
-
-
Motores de arranque
- Motores de arranque de barco/marina
- Motores de arranque de coche
- Motores de arranque para camiones / volquetes / vehículos pesados
- Motores de arranque para motocicleta/scooter
- Motores de arranque para quads, motos de nieve y motos acuáticas
- Motores de arranque para tractores / maquinaria agrícola / equipos de construcción
-
-
-
-
-
Carburación
- Carburador
- Kit de juntas y piezas para carburador SOLEX
- Kit de juntas y piezas para carburador WEBER
- Kit de juntas y piezas para carburadores ZENITH / PIERBURG
- Kit de juntas y piezas para varios carburadores
- Membrana del carburador DELLORTO
- Membrana del carburador PIERBURG / SOLEX / ZENITH
- Membrana del carburador WEBER
-
-
-
-
Tipos de vehículos
-
- Marcas
- Alternadores
- Motores de arranque
- Climatizacion
Bendix para arranque Delco 8000032 / 8000567
Bendix para arranque : Fiat 1347058080; Iveco 551959670; Marelli 063521093000, 944280216400; PSA Peugeot Citroen 5802AQ
Características
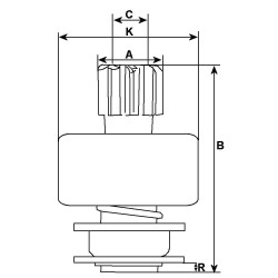
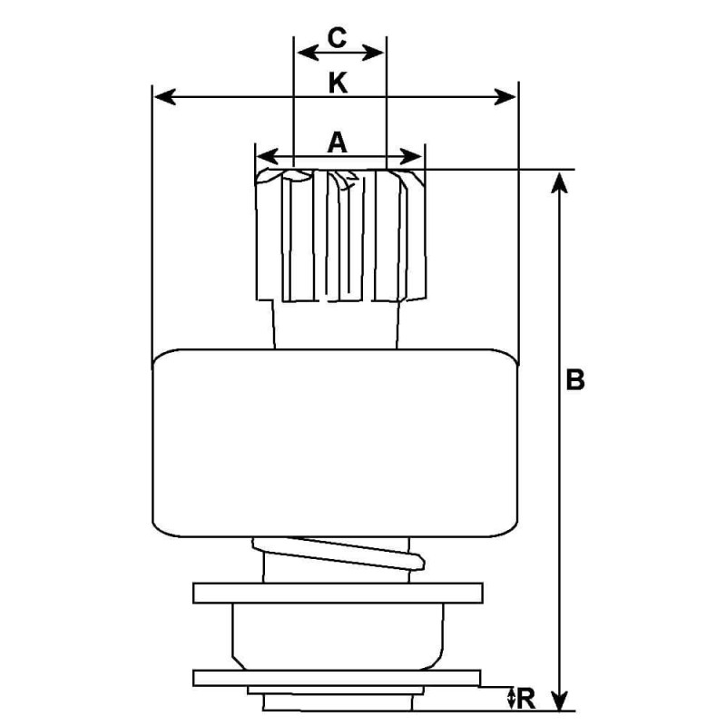
Información física | ||
|---|---|---|
| O.d. teyh mm | 36.00 | |
| A | DE mm | 36.00 |
| B | Longitud total mm | 61.40 |
| C | DI mm | 12.05 |
| Tipo Bendix | Acero | |
| No. de dientes | 9 | |
| Acanaladuras A | 12 | |
| K | DE/logement mm | 47.00 |
| Rotación | Cr | |
| Clavyte | Sin | |
| Cierre | Sin | |
marca genérica
sustituye | ||
|---|---|---|
| 330382 | Remy (delco) | |
| 6079 | ghi | |
| 69-60-25 | Tornillonova | |
16 otros productos en la misma categoría:
Bendix para arranque Lucas 063216733010 / 063216816010 / 063216833010
Bendix para arranque Delco remy 10479651 / 10479652
Bendix para arranque Delco 10451047 / 10451047 / 10455855 / 10461020
Bendix para arranque LUCAS 25696A / 25697A / 25697E / 25724A
Bendix para arranque Delco remy 1993701 / 1993702 / 1993705 / 1993711
Embrague / pignon para motor de arranque Delco remy 19011507
Bendix para arranque Delco remy 10465293 / 8000193 / 8000321 / 9000786 / 9000798
Bendix para arranque Lucas 26275f / 26275J / 26275K / 26280f
Bendix / Piñone para motor de arranque Lucas 26208 / 26208A / 26208E / 26211
Bendix para arranque Delco remy 9000874 / 9000875 / 9000878 / 9000879
Bendix LUCAS 54246005 para motor de arranque
Bendix para arranque Delco remy 3471141 / 3471143 / 3471144
Piñone para motor de arranque Delco remy 10461757 / 10461758 / 10461759
Bendix para arranque Hitachi S13-14 / S13-15 / S25-131
Bendix para arranque DENSO 128000-7480 / 228000-2640
¿Tiene alguna pregunta?
Wagendass está comprometido con la durabilidad de tu vehículo
Pièces neuves et sans consigne, garantie 2 ans
Garantías de repuestos con Wagendass
- Piezas nuevas
- Sin instrucciones
- Garantía de 2 años para todo tipo de vehículos
¿Cómo encontrar su pieza de repuesto en el sitio web de Wagendass?
El número de referencia de su pieza defectuosa es esencial para determinar la pieza de repuesto correcta. De hecho, cada marca tiene su propia nomenclatura para autentificar sus repuestos.
La referencia puede ser numérica o alfanumérica y deberá ser encontrada por tu parte.
Una vez que haya encontrado la referencia, ingrésela en la barra de búsqueda ubicada en la parte superior de nuestro sitio, en el centro.
El resultado propuesto será la pieza de recambio adaptada a su referencia.
Orígenes y adaptables
Ni devolución del antiguo
Amex,CB,Visa,MasterCard en 3D Secure y PayPal
Francia e internacional