Bendix para arranque Delco remy 9000795 / 9000817 / 9000824 / 9000833 / 9000837
Bendix para arranque Delco remy 9000795 / 9000817 / 9000824 / 9000833 / 9000837
Anterior
Siguiente
Bendix para arranque Delco remy 9000795 / 9000817 / 9000824 / 9000833 / 9000837
Bendix para arranque Delco remy 9000795 / 9000817 / 9000824 / 9000833 / 9000837

Bendix para arranque Delco remy 9000795 / 9000817 / 9000824 / 9000833 / 9000837

W230073

Bendix para arranque Delco remy :

09000794, 09000801,10455506, 21020761, 9000795, 9000817, 9000824,
9000833, 9000837, 9000839, 9000840, 9000847

12,90 € Impuestos incluidos
El precio puede variar en función de su tipo IVA
Últimas unidades en stock Entrega rápida
2 años de garantía
Sin depósito, ni devolución del antiguo.
Pagos seguros

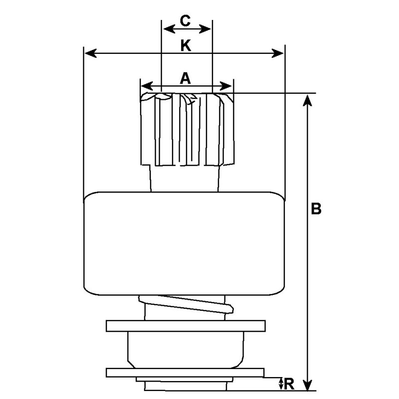
Características

Información física
A DE mm 25.25/1.016"
B Longitud total mm 45.25/1.772"
C DI mm 12.00
No./teyh 9
Acanaladuras A 6
K DE/logement mm 43.25
Rotación Cr
Clavyte Sin
Cierre Sin

marca genérica

sustituye Delco 10475974

para motor de arranque :

09000794 DELCO
09000801 DELCO
10455506 DELCO
21020761 DELCO
9000794 DELCO
9000795 DELCO
9000801 DELCO
9000817 DELCO
9000824 DELCO
9000833 DELCO
9000837 DELCO
9000839 DELCO
9000840 DELCO
9000846 DELCO
9000847 DELCO
9000856 DELCO
9000859 DELCO
96208781 DELCO
96208782 DELCO
96208783 DELCO
96208785 DELCO

Daewoo 96208782, 96208783, 96208785, 96430345; Delco 10451980, 10465298, 10465384, 10465459, 19134005, 19136230, 21020761, 88927882, 9000700, 9000756, 9000772, 9000794, 9000795, 9000833, 9000837, 9000839, 9000840, 9000847, 9000849, 9000859, 96208785; GM 10465384, 10465459, 12563881, 21020761, 9000849, 96208782, 96208783; Hyster 1457048; Isuzu 8104654590; Marelli 063522604010, 063522612010, 944280171250, 944280800680; Mercury Marine 50-807904A1; Opel 12-02-128, 12-02-131, 12-02-961, 1202138, 1202144, 90458462; Original Reference Number 33001753; Prestolite 20513529TBA, 20513529TBA

Wagendass está comprometido con la durabilidad de tu vehículo

Wagendass está comprometido con la durabilidad de tu vehículo

Pièces neuves et sans consigne, garantie 2 ans

Garantías de repuestos con Wagendass

  • Piezas nuevas
  • Sin instrucciones
  • Garantía de 2 años para todo tipo de vehículos

¿Cómo encontrar su pieza de repuesto en el sitio web de Wagendass?

El número de referencia de su pieza defectuosa es esencial para determinar la pieza de repuesto correcta. De hecho, cada marca tiene su propia nomenclatura para autentificar sus repuestos.

La referencia puede ser numérica o alfanumérica y deberá ser encontrada por tu parte.

Una vez que haya encontrado la referencia, ingrésela en la barra de búsqueda ubicada en la parte superior de nuestro sitio, en el centro.

El resultado propuesto será la pieza de recambio adaptada a su referencia.

Garantías de repuestos con Wagendass
Piezas nuevas

Orígenes y adaptables

Sin depósito

Ni devolución del antiguo

Pagos seguros

Amex,CB,Visa,MasterCard en 3D Secure y PayPal

Entrega rápida

Francia e internacional

Cargando...