-
Productos
-
-
-
Motores de arranque
- Motores de arranque de barco/marina
- Motores de arranque de coche
- Motores de arranque para camiones / volquetes / vehículos pesados
- Motores de arranque para motocicleta/scooter
- Motores de arranque para quads, motos de nieve y motos acuáticas
- Motores de arranque para tractores / maquinaria agrícola / equipos de construcción
-
-
-
-
-
Carburación
- Carburador
- Kit de juntas y piezas para carburador SOLEX
- Kit de juntas y piezas para carburador WEBER
- Kit de juntas y piezas para carburadores ZENITH / PIERBURG
- Kit de juntas y piezas para varios carburadores
- Membrana del carburador DELLORTO
- Membrana del carburador PIERBURG / SOLEX / ZENITH
- Membrana del carburador WEBER
-
-
-
-
Tipos de vehículos
-
- Marcas
- Alternadores
- Motores de arranque
- Climatizacion
Bendix para arranque Denso028000-5200 / 028000-5201 / 028000-5210
Bendix para motor de arranque Denso:
028000-5200 / 028000-5201 / 028000-5210 / 028000-5400 / 028000-5401
028000-5410 / 028000-7110 / 028000-7111 / 028000-7112
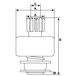
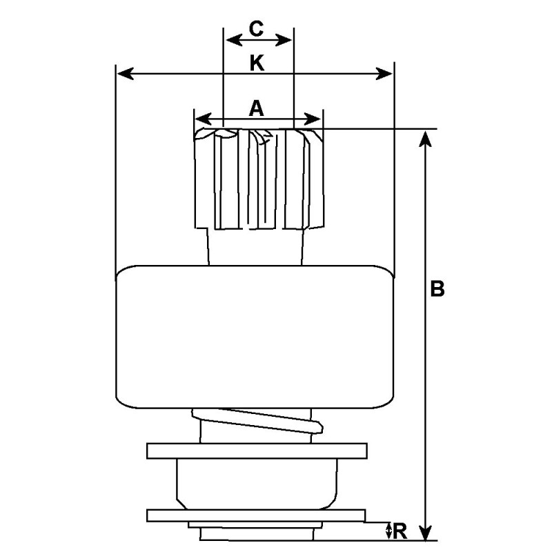
Características
Características :
A = DE 26.69
B = Longitud total 85.86
No. de dientes 10
Acanaladuras A 5
K = DE/logement 47.32
Rotación Cr
C = DI 12.65
= Denso 028300-1831 / 028300-1830
= Zen 1.01.0524.0
16 otros productos en la misma categoría:
Bendix para arranque 128000-0120 / 128000-0180 / 128000-1900 / 128000-3180
Piñone para motor de arranque Denso028000-5060 / 028000-6440 / 028000- 7000
Bendix para arranque Denso128000-7810 / 128000-7812 / 228000-1560
Bendix para arranque Denso028000-9470 / 028000-9490 / 028000-9500
Bendix para arranque Denso028000-0370 / 028000-0430 / 028000-1370
Bendix para arranque Hyundai 36100-26710
Kit butée Bendix para motor de arranque Denso128000-2520 / 128000-2611 / 128000- 2621
Bendix para arranque Denso128000-2680 /128000-2682 / 128000- 5210 / 228000-5911
Bendix para arranque Denso028000-8040 / 028000-8041 / 028000- 9430 / 128000-0350
Bendix para arranque Denso228000-0470 / 228000-0471 / 228000-0472
Bendix para arranque Denso428000-4600 / 428000-5510 / 428000-5511
Bendix para arranque Denso128000-7002 / 128000-7010 / 128000-7122
Bendix para arranque Denso128000-9700 / 128000-9701 / 228000-0810
Piñone para motor de arranque Denso 028000-4800 / 028000-5300 / 028000- 5301
Bendix para arranque Denso128000-1180 / 128000-1181
¿Tiene alguna pregunta?
Wagendass está comprometido con la durabilidad de tu vehículo
Pièces neuves et sans consigne, garantie 2 ans
Garantías de repuestos con Wagendass
- Piezas nuevas
- Sin instrucciones
- Garantía de 2 años para todo tipo de vehículos
¿Cómo encontrar su pieza de repuesto en el sitio web de Wagendass?
El número de referencia de su pieza defectuosa es esencial para determinar la pieza de repuesto correcta. De hecho, cada marca tiene su propia nomenclatura para autentificar sus repuestos.
La referencia puede ser numérica o alfanumérica y deberá ser encontrada por tu parte.
Una vez que haya encontrado la referencia, ingrésela en la barra de búsqueda ubicada en la parte superior de nuestro sitio, en el centro.
El resultado propuesto será la pieza de recambio adaptada a su referencia.
Orígenes y adaptables
Ni devolución del antiguo
Amex,CB,Visa,MasterCard en 3D Secure y PayPal
Francia e internacional