Payez en 4X sans frais pour les achats de 30€ à 2 000€.
Ref
Palabras clave
Para investigar...
-
Productos
-
-
-
Motores de arranque
- Motores de arranque de barco/marina
- Motores de arranque de coche
- Motores de arranque para camiones / volquetes / vehículos pesados
- Motores de arranque para motocicleta/scooter
- Motores de arranque para quads, motos de nieve y motos acuáticas
- Motores de arranque para tractores / maquinaria agrícola / equipos de construcción
-
-
-
-
-
Carburación
- Carburador
- Kit de juntas y piezas para carburador SOLEX
- Kit de juntas y piezas para carburador WEBER
- Kit de juntas y piezas para carburadores ZENITH / PIERBURG
- Kit de juntas y piezas para varios carburadores
- Membrana del carburador DELLORTO
- Membrana del carburador PIERBURG / SOLEX / ZENITH
- Membrana del carburador WEBER
-
-
-
-
Tipos de vehículos
-
- Marcas
- Alternadores
- Motores de arranque
- Climatizacion
Alternador sustituye A13N285 / 873770 para Volvo penta MD11 / MD17
w113382
sustituye Volvo Penta 3803260-3 / 3803444 / 872235-7
Información eléctrica |
||
|---|---|---|
| Voltaje | 14 | |
| Amp. | 60 | |
| Masa aislada | Oui | |
| Terminal | W | |
Características
marca genérica
sustituye |
|
|---|---|
| 849563 | Volvo |
| 873633 | Volvo |
| 873770 | Volvo |
| A13N285 | Valeo |
| A13N285M | Valeo |
Información física |
||
|---|---|---|
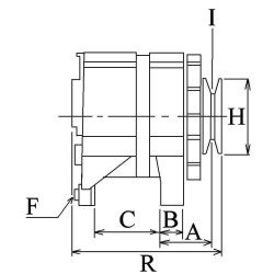
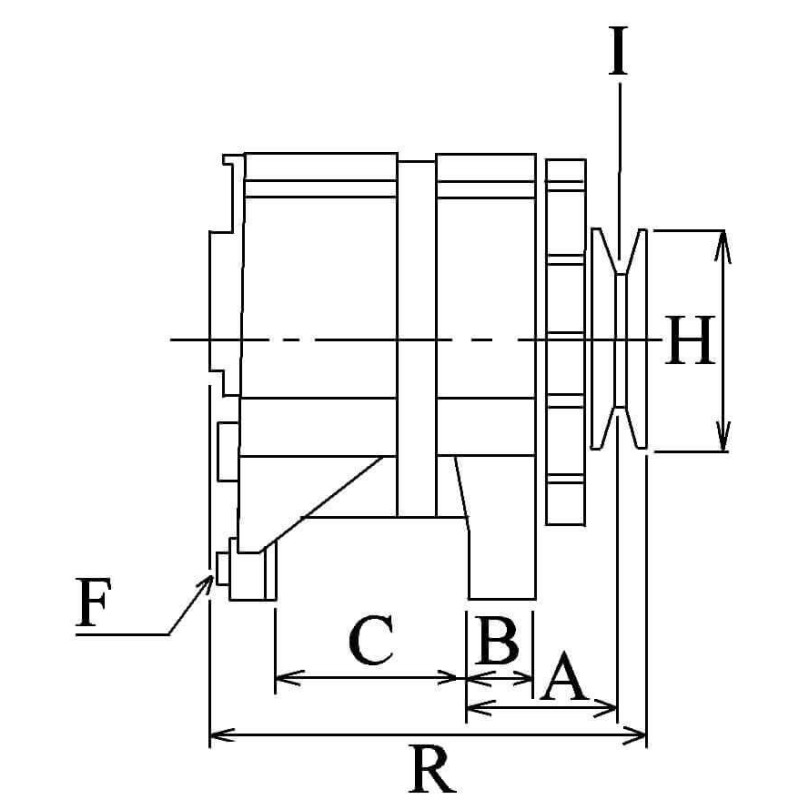
| B | Ancho de los brazos | 50.50 |
| D | Diámyro del orificio | 11.20 |
| E | Ángulo de la pasta tensora | 57 |
| G | Diámyro del orificio de la pata | 8.20 |
| J | Radius | 85.00 |
| J | Radius 2 | 81.50 |
| K | B + | M6 |
| K | Posición B+ en min. | 47 |
| N | Rotación | CW |
| O | Toma non | PL_NA |
| Q | Tipo prise W | M4 |
Información eléctrica |
||
|---|---|---|
| Voltaje | 14 | |
| Amp. | 60 | |
| Masa aislada | Oui | |
| Terminal | W | |
Anterior
keyboard_arrow_left
Siguiente
keyboard_arrow_right
Los clientes que adquirieron este producto también compraron:
Anterior
Siguiente
Solenoides de arranque
25,90 €
Motores de arranque para tractores / maquinaria agrícola / equipos de construcción
Motor de arranque sustituyeBosch 0001107078 / 0001108181 / Perkins 185086321
79,90 €
Alternador para barco / motor marino
Alternador sustituye Valéo A13N35M / A13N2M / A13N259M / A13N234
99,90 €
Alternador para barco / motor marino
Alternador NUEVO sustituye Mercury Marine 805447T / 805884 / 805884P / 805884T
129,90 €
Motores de arranque de barco/marina
Motor de arranque NEUF para Volvo-Penta 859553 / 872241-5 / 872888-3 / 873549-0
78,90 €
Motores de arranque para tractores / maquinaria agrícola / equipos de construcción
Motor de arranque sustituye Mitsubishi M2T50391/ M2T50381/ M2T50371
118,90 €
Motores de arranque para OMC / BUCK / VOLVO / PENTA / YANMAR
Motor de arranque sustituye IS1322 / 0986012780 / 3581774 / D9R114 para Volvo Penta
188,90 €
16 otros productos en la misma categoría:
Anterior
Siguiente
Alternador para barco / motor marino
Alternador nuevo 100 AH sustituye Volvo 872235 / 873633 / 873770 / Iskra IA1450
108,90 €
Alternador para barco / motor marino
Alternador NUEVO sustituye Motorola 8HC3022F / 8HC3022FS / 8HC3025F
169,90 €
Alternadores
Alternador sustituye EE8026 / 2511J / 2511JB / 2511JC / A0012511JB / A0012511JC / 2MJ4124P2
289,90 €
Alternador para barco / motor marino
Alternador NUEVO sustituye Delco Remy 10459075 / 10459077 / 10459103
289,90 €
Alternador para barco / motor marino
Alternador sustituye 8400080 / 50-897755T / 897755T
149,90 €
Alternador para barco / motor marino
Alternador sustituye AC165617 / AC165618 / 807653 / 807653T polea 6 strie
149,90 €
Alternador para barco / motor marino
Alternador sustituye 11.203.416 / AAK4352 para Volvo Penta / Bukh marine
199,90 €
Alternadores
Alternador sustituye 20115014TBA / 19020606 / RA097007 / 575011
159,90 €
Alternador sustituye ISKRA / LETRIKA / MAHLE
Alternador sustituye MAHLE 11203051 / 11203065 / 11204254 / 11204276 / AAN5120 / AAN5122 / AAN8166 / IA117
169,90 €
Alternador para barco / motor marino
Alternador sustituye Honda Marine 31630-ZY3-003 / Denso 102211-2750
179,90 €
Alternador para barco / motor marino
Alternador sustituye 8HC2024K / 8HC2024KS / 8HC2023KS / 8HC2023K / 0R3654 / 6T1396 / 712096 / 7T2096
189,90 €
Alternador para barco / motor marino
Alternador sustituye A0002655299 / 3862612 para Volvo Penta
148,90 €
Alternadores para maquinaria pesada / agrícola
Alternador sustituye 19020617 / RA097007A
159,90 €
Alternadores
Alternador sustituye 0120489303 / 180619 / 181991 / A14N118M / A14N141M / A14N200M / A14N206M / 20150114 / 858884
139,90 €
Alternador para barco / motor marino
Alternador VALEO 3860082 / AC165622 para Volvo Penta marine
229,90 €
Alternador sustituye BOSCH
Alternador sustituye BOSCH 0120339552 / 0120339531 / 0120339514
79,90 €
¿Tiene alguna pregunta?
Wagendass está comprometido con la durabilidad de tu vehículo
Pièces neuves et sans consigne, garantie 2 ans
Garantías de repuestos con Wagendass
- Piezas nuevas
- Sin instrucciones
- Garantía de 2 años para todo tipo de vehículos
¿Cómo encontrar su pieza de repuesto en el sitio web de Wagendass?
El número de referencia de su pieza defectuosa es esencial para determinar la pieza de repuesto correcta. De hecho, cada marca tiene su propia nomenclatura para autentificar sus repuestos.
La referencia puede ser numérica o alfanumérica y deberá ser encontrada por tu parte.
Una vez que haya encontrado la referencia, ingrésela en la barra de búsqueda ubicada en la parte superior de nuestro sitio, en el centro.
El resultado propuesto será la pieza de recambio adaptada a su referencia.
Piezas nuevas
Orígenes y adaptables
Sin depósito
Ni devolución del antiguo
Pagos seguros
Amex,CB,Visa,MasterCard en 3D Secure y PayPal
Entrega rápida
Francia e internacional